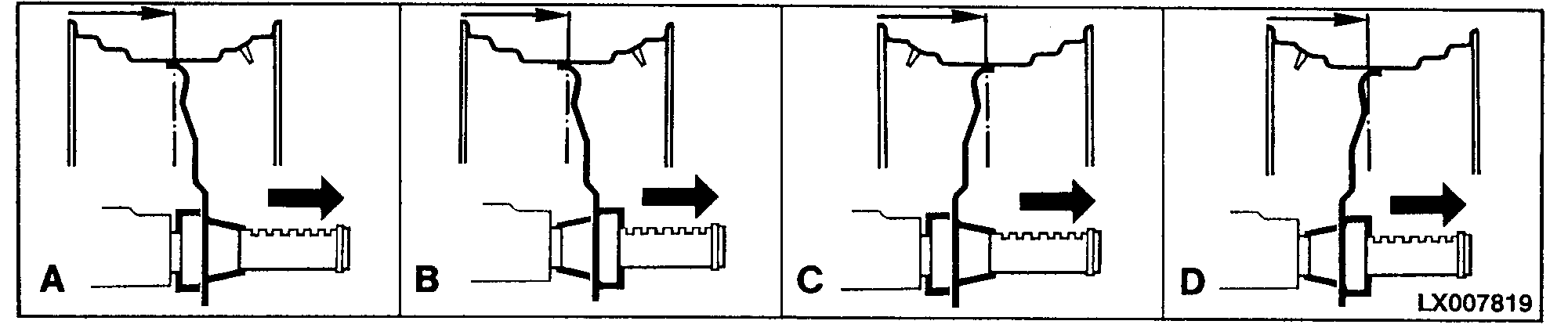
Stellungen der Radfelgen und Radschüsseln bei Verstellachse

LX009838

Gußräder

LX007819

Stahlräder

HINWEIS: Die Stellungen der Radfelgen und Radschüsseln je nach Ausführung aus den Zeichnungen entnehmen.

Bei den Guß-Rädern 13.6-38 und 14.9-38 ist das Ventil auf der gegenüberliegenden Seite.

Bei 30 in. Rädern sind nur die Positionen A, B, G und H möglich.

AG,OU12401,305 -29-10APR00-1/1