Kotschützer einstellen

LX007817

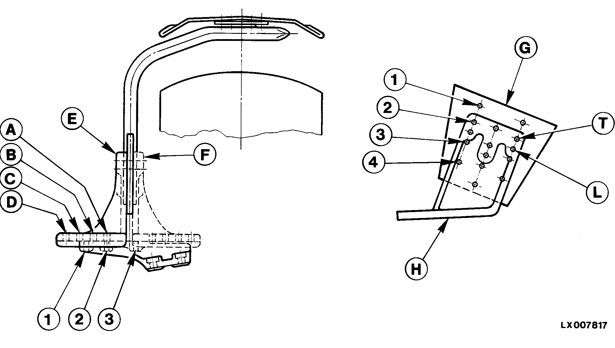
Abb.: Rechtes Vorderrad


E-OUT-Halter außen
F-IN-Halter innen
G-Kotschützer
H-Halter

Der Kotschützer muß in der richtigen Position, abhängig von der Reifengröße und Spurweite, angebaut werden. Hierzu den entsprechenden Reifen und die entsprechende Spurweite wählen und die sich daraus ergebenen Positionen aus der Tabelle entnehmen (siehe "Positionen vom Kotschützer" in diesem Abschnitt).

Erklärung der Positionen:

D-3 -Gibt an, welche Bohrungen (1, 2 oder 3 und A, B, C oder D) miteinander verschraubt werden.

IN -Gibt an, ob der Halter innen (IN) oder außen (OUT) angebracht wird. Wird der Halter von innen nach außen gedreht, so muß der auf der linken Traktorseite verwendete Halter auf der rechten Traktorseite angebracht werden und umgekehrt.

L/2 -Zeigt an, ob die oberen Bohrungen (T) oder die unteren Bohrungen (L) des Halters bzw. die Bohrungen am Kotschützer (1, 2, 3 oder 4) verwendet werden.

LX008632

LX,OMSPU011322 -29-01SEP97-1/2


Kotschützerweite -Diese Zeile gibt die Position des Kotschützers auf der Frontantriebsachse an, z.B. D-3 IN.

Kotschützerhöhe -Diese Zeile gibt die Höhe des Kotschützers an, z.B. L/2.

Kotschützerbreite -Gibt an, bei welcher Bereifung welcher Kotschützer (mit der entsprechenden Breite) zu verwenden ist, z.B. 400 mm (15.7 in.).

Tabelle Positionen Kotschützer siehe nächste Seite.

Tabelle Spurweiten (Position von Felge und Schüssel) siehe entsprechende Seiten.

LX,OMSPU011322 -29-01SEP97-2/2