Reglaje del ancho de vía con cremallera y piñón

NOTA: Para poder realizar este ajuste, las ruedas no deben llevar montados más de dos contrapesos cada una.

1. Limpiar el palier con un cepillo de púas metálicas.

2. Levantar el tractor hasta que las ruedas dejen de tocar el suelo y girar las ruedas traseras hasta que las estrías de cremallera queden orientadas hacia arriba.

3. Aflojar los tres tornillos de fijación.

4. Enroscar los tornillos extractores hasta que la cara interior de la cabeza de los tornillos quede estrecha- mente aplicada sobre el cubo de la rueda.

NOTA: Si no se lograse soltar el cubo, aflojar también los tres tornillos en el lado opuesto del disco de la rueda. Si esto no sirve, golpear varias veces el extremo del palier con un martillo pesado. Apretar uniformemente los tornillos de desplazamiento. Se recomienda también el empleo de aceite "aflojatodo" para facilitar el aflojamiento de los medios cubos.

5. Enroscar o desenroscar el tornillo de ajuste hasta que se obtenga la posición deseada.

6. Una vez ajustado el ancho de vía, desenroscar los tornillos extractores hasta el tope, pero sin forzarlos.

7. Lubricar las roscas y volver a apretar alternadamente los tornillos de sujeción con 400 N[uml ]m (300 lb-ft). Apretar varias veces los tornillos hasta que los tres presenten el par de apriete especificado. Los tornillos extractores deben girar libremente. De lo contrario, desenroscarlos algo más y apretar los tornillos de las ruedas de nuevo con el par especificado.

8. Terminado el ajuste, asegurarse de que ninguna parte de los neumáticos o contrapesos roce con el tractor. Avanzar con el tractor 50 m (160 ft.) aprox., pararlo y reapretar los tornillos de las ruedas con 400 N·m (300 lb-ft). Los tornillos deben ser apretados con el par correcto después de las primeras 4 y 8 horas de trabajo, y varias veces antes de transcurrir 100 horas de trabajo. Ver "Período de rodaje".

L102691

AG,OU12401,304 -63-10APR00-1/3


IMPORTANTE: La distancia entre el flanco del neumático y el guardabarros no debe ser inferior a 50 mm (1.97 in.). La distancia entre el borde de la banda de rodadura y el guardabarros no debe ser inferior a 60 mm (2.36 in.).

 

AG,OU12401,304 -63-10APR00-2/3


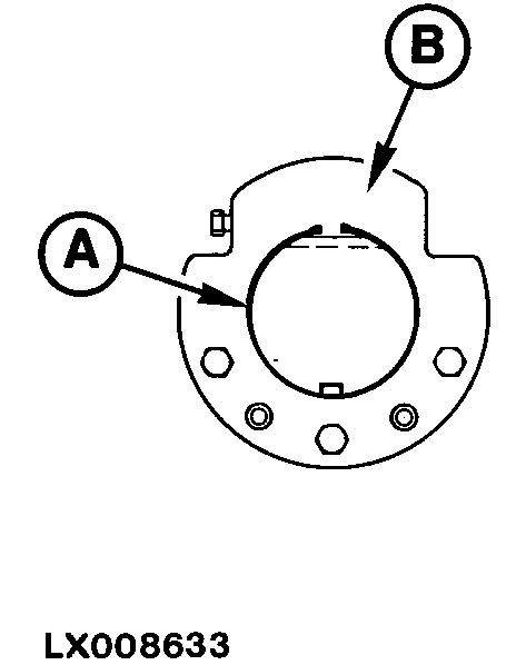
Girar el eje del cubo de rueda con el piñón hacia adentro

Para aflojar, ajustar o apretar el cubo de rueda, ver la página anterior.

1. Separar la rueda trasera para facilitar el montaje.

2. Quitar el anillo elástico (A). Enroscar el tornillo de reglaje hasta que el cubo de rueda (B) se desplace completamente hacia fuera. Retirar el cubo de rueda (B).

3. Poner la rueda sobre el eje en la posición deseada. Invertir el cubo de rueda (B) e instalarlo.

4. Fijar la rueda trasera e instalar el anillo de seguridad (A). Para continuar con el montaje, ver la página anterior.

IMPORTANTE: La distancia entre el flanco del neumático y el guardabarros no debe ser inferior a 50 mm (1.97 in.). La distancia entre el borde de la banda de rodadura y el guardabarros no debe ser inferior a 60 mm (2.36 in.).

LX008633
LX008634

AG,OU12401,304 -63-10APR00-3/3