Posiciones de llantas y discos de rueda con palieres de cremallera

LX009838

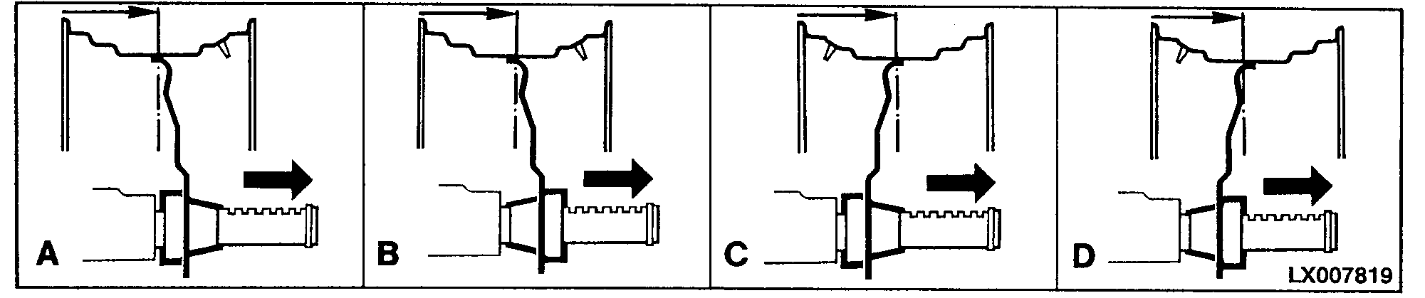
Ruedas de fundición

LX007819

Llantas de acero

NOTA: Utilizar las ilustraciones para determinar la posición correcta de llantas y discos de rueda. Las posiciones varían según el tipo utilizado.

Con ruedas de fundición de 13.6-38 y 14.9-38, la válvula se halla en el lado opuesto.

Con ruedas de 30 in, sólo se admiten las posiciones A, B, G y H.

AG,OU12401,305 -63-10APR00-1/1