Reglaje de los guardabarros

LX007817

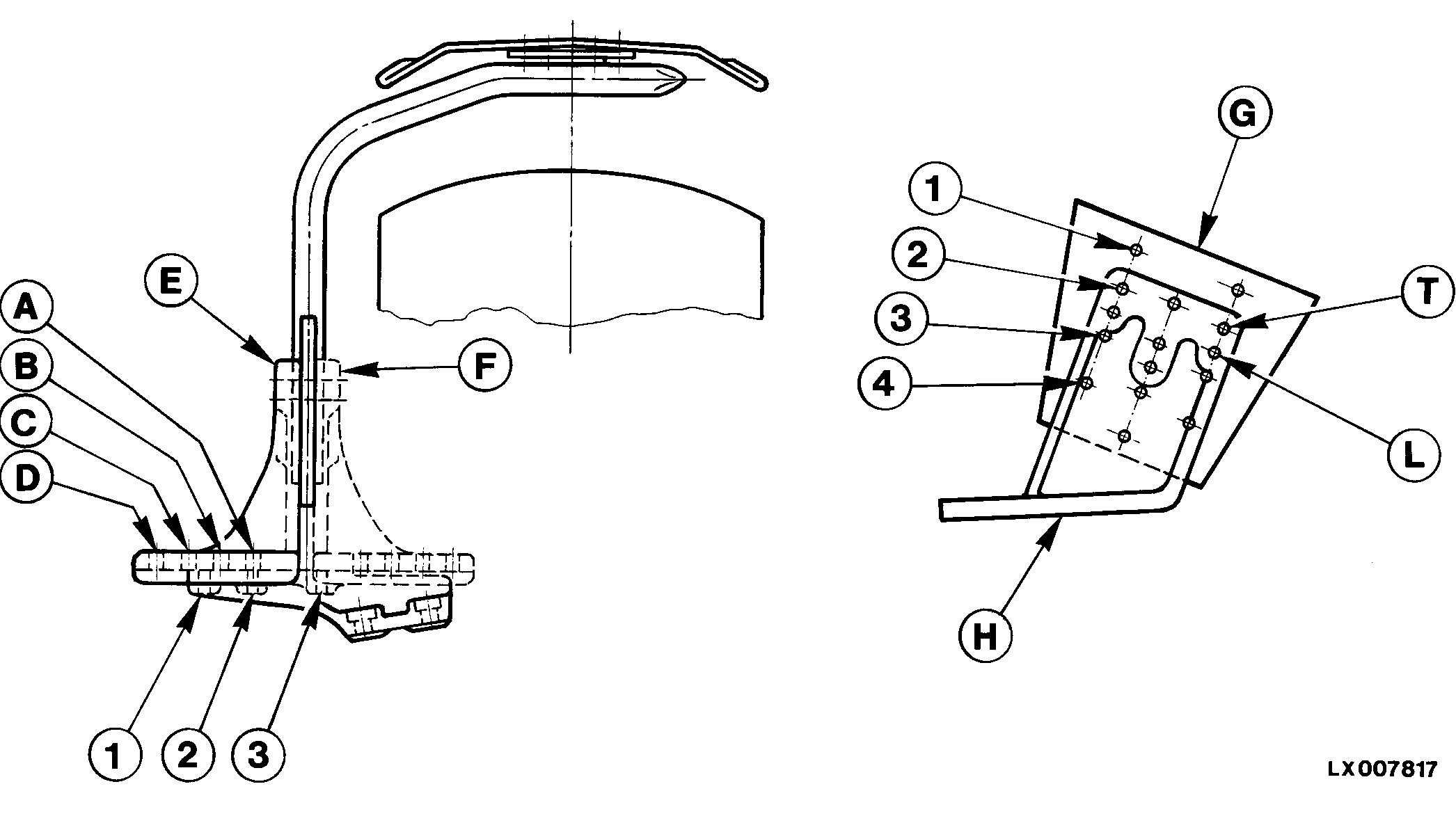
Rueda delantera derecha


E-OUT-Soporte hacia afuera
F-IN-Soporte hacia adentro
G-Guardabarros
H-Soporte

El guardabarros debe instalarse en función de la medida del neumático y del ancho de vía. Seleccionar los neumáticos y ancho de vía adecuados y determinar en la tabla la posición correcta (ver "Posiciones de los guardabarros" en esta Sección).

Explicación de las posiciones

D-3 -Indica los agujeros (1, 2, o 3 y A, B, C o D) que quedan unidos por tornillos.

IN -Indica si el soporte se halla instalado en el lado hacia adentro o hacia afuera. Al invertir la posición del soporte, es necesario instalar el soporte del lado izquierdo en el lado derecho y viceversa.

L/2 -Indica si se utilizan los agujeros superiores (T) o inferiores (L) del soporte y los agujeros correspondientes (1, 2, 3 o 4) del guardabarros.

Posición del guardabarros -Esta línea indica la posición del guardabarros en el eje de tracción delantera, p.e. D-3 IN.

Altura del guardabarros -Esta línea indica la altura del guardabarros, p.e. L/2.

LX008632

LX,OMSPU011322 -63-01SEP97-1/2


Ancho del guardabarros -Indica la anchura apropiada, p.e. 400 mm (15.7 in.), para los neumáticos empleados.

La próxima página incluye una tabla con las posiciones del guardabarros.

Para la tabla de los anchos de vía, consultar las páginas correspondientes (posición de llantas y discos de rueda).

LX,OMSPU011322 -63-01SEP97-2/2