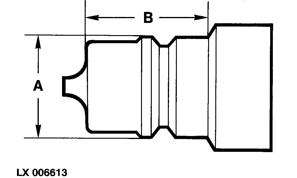
Enchufes hidráulicos

Los enchufes de las mangueras deben estar dentro de la normativa ISO.

La distancia (A) debe estar comprendida entre 23,66 y 23,74 mm (0.931 y 0.934 in.).

La distancia (B) debe ser al menos 24 mm (0.945 in.).

LX006613

LX,OZUSAT004842 -63-02AUG93-1/1