Adjusting the Fender

LX007817

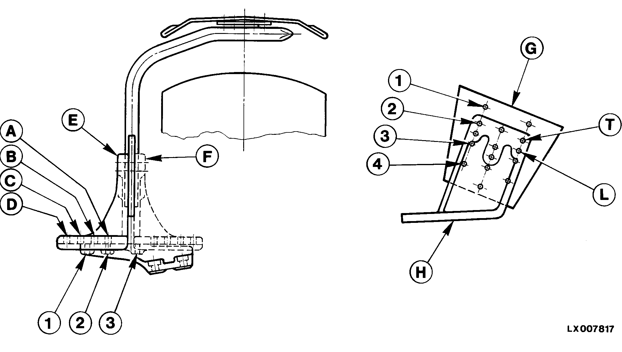
Right front wheel shown


E-Bracket facing OUT
F-Bracket facing IN
G-Fender
H-Bracket

The fender must be installed at the correct position to suit the size of the tire and the tread width. Select the appropriate tires and tread width, and determine the suitable positions from the table (see "Fender Positions", this Section).

Explanation of Positions:

D-3 -Indicates which holes (1, 2, or 3 and A, B, C or D) are bolted together.

IN -Indicates whether the bracket is fitted facing IN or OUT. When reversing the bracket position, it is necessary to install the bracket from the left-hand side of the tractor on the right-hand side and vice versa.

L/2 -Shows whether the upper (T) or lower (L) holes in the bracket are used, and which holes (1, 2, 3 or 4) are used in the fender.

Fender width -This line indicates the position of the fender on the front-wheel drive axle, e.g. D-3 IN.

LX008632

LX,OMSPU011322 -19-01SEP97-1/2


Fender height -This line indicates the height of the fender, e.g. L/2.

Fender breadth -Indicates appropriate breadth of fender e.g. 400 ;mm (15.7 in.) for tires used.

For table showing fender positions, see next page.

For table of tread widths (position of rims and wheel disks), see relevant pages.

LX,OMSPU011322 -19-01SEP97-2/2