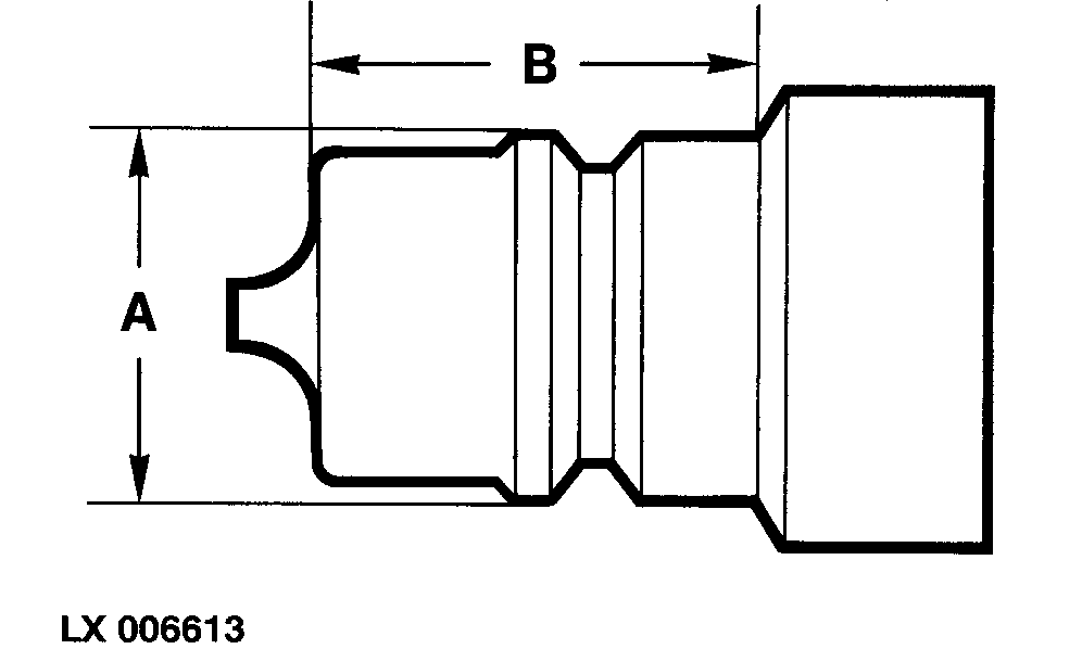
Hose Unions

The hose unions used must comply with ISO standards.

Dimension (A) must be between 23.66 and 23.74 mm (0.931 and 0.934 in.).

Dimension (B) must be at least 24 mm (0.945 in.).

LX006613

LX,OZUSAT004842 -19-02AUG93-1/1