Pre-Assembling the Pick-Up Weight

causym CAUTION: When performing the work described below, comply with the safety instructions.

causym CAUTION: Equipment used to raise and transport the weight must be capable of bearing at least 900 kg (2000 lb).

causym CAUTION: Use approved lifting equipment only.

causym CAUTION: Observe safety rules. Do not stand under suspended loads.

NOTE: To facilitate the transport of the weight, it is a good idea to pre-assemble it on a pallet. Make sure the bearing weight of the pallet is sufficient.

 

MHM611,6A -19-01MAR00-1/5


Use a hoist to lower the center weight (A) onto a level surface.

Arrange the side weights (B) alongside the center weight and install bearing shaft (C).

Tighten nuts (D) to 300 N·m (220 lb-ft).

If attaching to a three-point hitch, adjust pins (E) to their maximum lengths.

LX013997

MHM611,6A -19-01MAR00-2/5


If attaching the center weight only, install a spacer bushing (A) at each end of the bearing shaft.

Tighten the nuts to 300 N·m (220 lb-ft).

LX013999

MHM611,6A -19-01MAR00-3/5


When attaching to a 80 kg (175 lb) basic weight, install a spacer (A) at both inner sides.

When attaching to a 110 kg (240 lb) basic weight, spacers are not needed.

Insert the hex. socket screws (C) from the inner side and install nuts (B).

LX012554

MHM611,6A -19-01MAR00-4/5


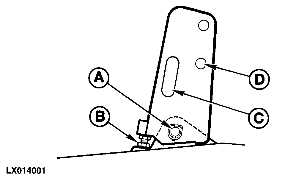
If attaching to the three-point hitch, install the center link bracket. Install and secure pin (A). Adjust the depth to which screw (B) is screwed into the center link bracket until the screw is in contact with the pick-up weight, and then counter-lock the screw.

The center link bracket has a recess (C) where the spacers can be stored when not in use.

When the center link bracket is not in use, it can be folded over and secured to the weight by means of hole (D).

LX014001

MHM611,6A -19-01MAR00-5/5