Réglage des ailes

LX007817

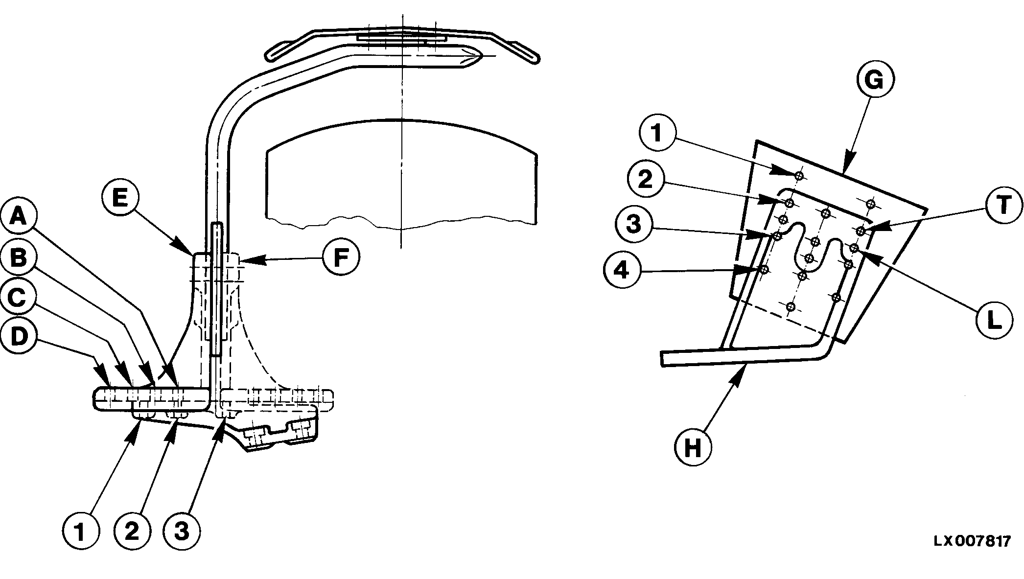
Roue avant droite


E-Support à l'extérieur
F-Support à l'intérieur
G-Aile
H-Support

L'aile doit être montée à la bonne position, en fonction de la taille du pneumatique et de la voie. Choisir le pneu et la voie appropriés et se reporter au tableau pour déterminer la position correspondante de l'aile (voir "Positions des ailes", dans cette section).

Explication des positions:

D-3 -Indique les perçages (1, 2 ou 3 et A, B, C ou D) utilisés pour la fixation de l'aile.

IN -Indique si le support est monté à l'intérieur (IN) ou à l'extérieur (OUT). Si l'on souhaite modifier la position du support (intérieur/extérieur), il est également nécessaire d'intervertir les supports des deux côtés du tracteur.

L/2 -Indique les perçages du support (supérieurs (T) ou inférieurs (L)) et quels perçages de l'aile (1, 2, 3 ou 4) utilisés.

Position de l'aile -Indique la position de l'aile sur le pont avant, par ex. D-3 IN.

Position verticale de l'aile -Indique la position verticale de l'aile, par ex. L/2.

LX008632

LX,OMSPU011322 -28-01SEP97-1/2


Largeur de l'aile -Indique la largeur d'aile correspondant aux pneumatiques utilisés, par ex. 400 mm (15.7 in).

Le tableau des positions d'aile figure à la page suivante.

Pour le tableau des largeurs de voie (positions du voile et de la jante), voir les pages correspondantes.

LX,OMSPU011322 -28-01SEP97-2/2