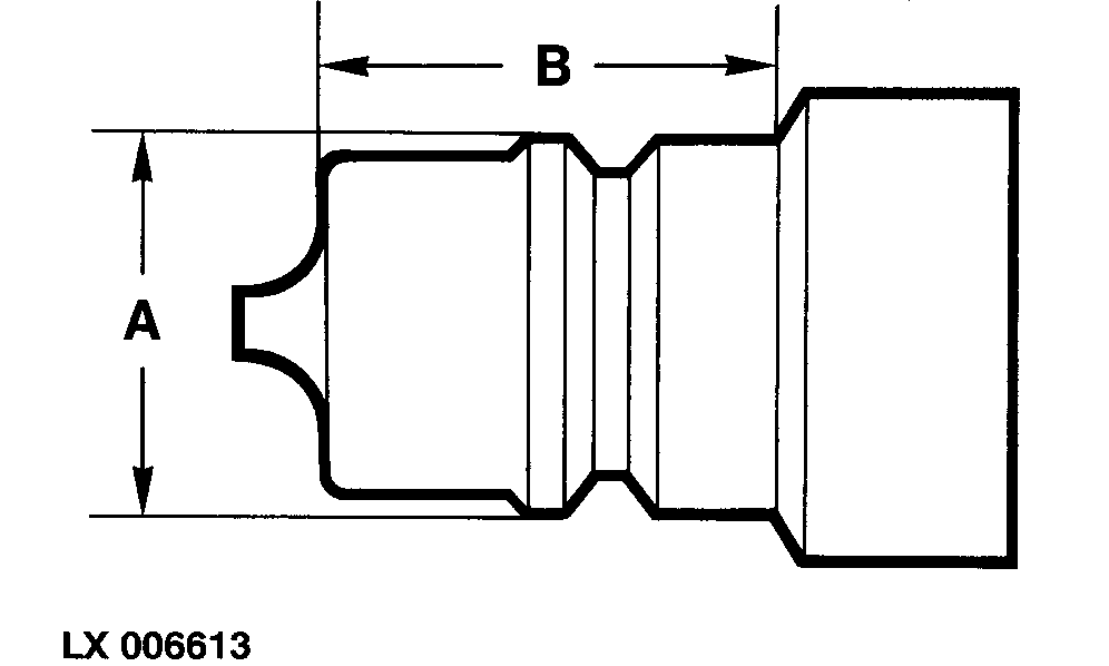
Embouts de flexibles

Les raccords utilisés doivent répondre aux normes ISO.

La cote (A) doit être comprise entre 23,66 et 23,74 mm (0.931 et 0.934 in).

La cote (B) doit être de 24 mm (0.945 in) au minimum.

LX006613

LX,OZUSAT004842 -28-02AUG93-1/1