Préassemblage de la masse à fixation rapide

causym ATTENTION: Respecter les consignes de sécurité pour toutes les opérations décrites ci-après.

causym ATTENTION: L'équipement utilisé pour lever et transporter la masse de lestage doit pouvoir supporter une masse de 900 kg (2000 lb).

causym ATTENTION: N'utiliser qu'un outil de levage agréé.

causym ATTENTION: Observer les règles de sécurité. Ne pas se tenir sous les charges suspendues.

NOTE: Pour faciliter le transport de la masse de lestage, il est conseillé de la préassembler sur une palette. S'assurer que la capacité de charge de la palette est suffisante.

 

MHM611,6A -28-01MAR00-1/5


Poser l'élément central (A) sur une surface plane au moyen d'un outil de levage approprié.

Placer les éléments latéraux (B) contre l'élément central et mettre en place l'arbre de montage (C).

Serrer les écrous (D) à 300 N·m (220 lb-ft).

Lors du montage sur un attelage trois points, régler les axes (E) en position de longueur maximum.

LX013997

MHM611,6A -28-01MAR00-2/5


Si seul l'élément central est installé, il faut monter une entretoise (A) de chaque côté de l'arbre.

Serrer les écrous à 300 N·m (220 lb-ft).

LX013999

MHM611,6A -28-01MAR00-3/5


Si la masse est montée sur un support de 80 kg (175 lb), monter une entretoise (A) sur les deux faces intérieures.

Si la masse est montée sur un support de 110 kg (240 lb), les entretoises ne sont pas nécessaires.

Monter les vis Allen (C) depuis l'intérieur et installer les écrous (B).

LX012554

MHM611,6A -28-01MAR00-4/5


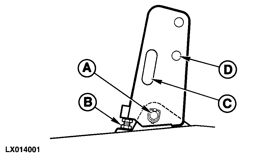
Si la masse est montée sur l'attelage trois points, installer le support de la barre de poussée. Monter et verrouiller l'axe (A). Ajuster la profondeur de vissage de la vis (B) dans le support central jusqu'à ce qu'elle soit au contact avec la masse de lestage, puis la contre-bloquer.

Le support central dispose d'un évidement (C) permettant le rangement des entretoises non utilisées.

Lorsque le support de barre de poussée n'est pas utilisé, le rabattre et le fixer à la masse de lestage au moyen de l'alésage (D).

LX014001

MHM611,6A -28-01MAR00-5/5