Remplacement des filtres à huile de transmission/hydraulique (tracteurs SANS boîte AutoPowr)

NOTE: Remplacer les filtres à huile de transmission/hydraulique après les 100 premières heures de service. Puis à nouveau après les premières 750 heures de service, et régulièrement toutes les 750 heures.

1. Dévisser les filtres.

2. Enduire de graisse les joints des filtres neufs et visser les filtres.

N'utiliser que des filtres John Deere!

IMPORTANT: Toujours remplacer les deux filtres en même temps. Ne jamais remplacer un seul filtre.

 

LX004991

OU12401,000054C -28-01DEC00-1/2


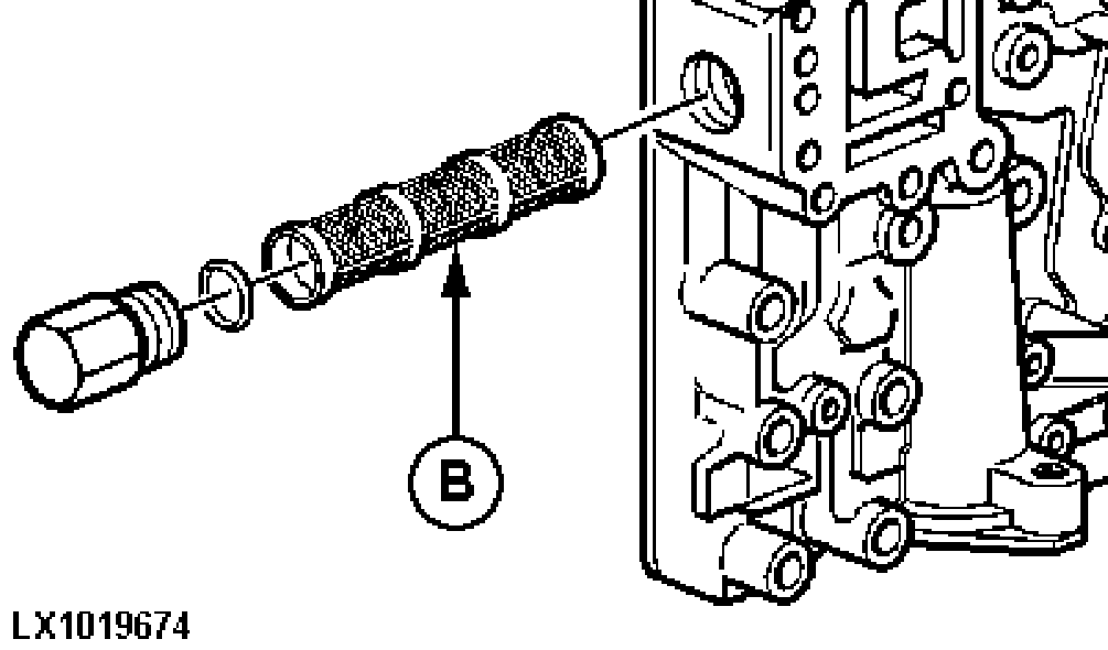
Sur les tracteurs avec boîte Power Shift, remplacer les filtres (A) ainsi que la crépine (B). Confier cette tâche à votre concessionnaire John Deere.

RW20391
LX1019670
LX1019674

OU12401,000054C -28-01DEC00-2/2