Replacing the Drive Belt

6405 Tractors

Press catch (A) and pull hood forward.

LX1018291

AG,OU12401,10112 -19-07AUG00-1/10


Open hood and engage support (B); see arrow.

LX1018292

AG,OU12401,10112 -19-07AUG00-2/10


6605 Tractors

Pull lever (A) forward to unlock hood. The hood can now be folded up. Push down catch (B) to open the hood fully.

LX1019304

AG,OU12401,10112 -19-07AUG00-3/10


Removing Grille Screens (6405 Tractors)

Open hood, push down locking bolt (A) and remove grille screens from the side.

LX1018293

AG,OU12401,10112 -19-07AUG00-4/10


Removing Grille Screens (6605 Tractors)

Open hood, push locking bolt (A) forward and remove grille screens from the side.

LX1019305

AG,OU12401,10112 -19-07AUG00-5/10


Removing Fan Guard

Remove grille screen. Unscrew nuts (A) and remove fan guard from the side.

IMPORTANT: Remember to put the fan guard back as soon as the job is completed.

LX1018294

6405 Tractors

LX1019306

6605 Tractors

AG,OU12401,10112 -19-07AUG00-6/10


Relieving Drive Belt

causym CAUTION: Disconnect the battery ground cable (-)

Slacken off the four hex. nuts and push the fan forward.

Use a 15 mm (19/32 in.) wrench to turn the cap screw in the idler roll clockwise (see arrow) until the two holes (A) and (B) are aligned.

Insert a metal pin with a dia. of 5 mm (0.2 in.) into the two aligned holes.

Before tensioning, turn the idle roll a little to relieve the pressure on the metal pin, and then take out the metal pin. The drive belt tensioner returns to its tensioning position automatically.


A-Hole (cam)
B-Hole (base plate)
C-Idler roll

LX1017755
LX1017754

AG,OU12401,10112 -19-07AUG00-7/10


Remove old drive belt from pulleys, and cut.

Remove the three expanding plugs (A) of the shroud. Place a loop of the new drive belt (B) between fan and shroud.

LX006299

AG,OU12401,10112 -19-07AUG00-8/10


Turn fan while at the same time placing the drive belt around the fan.

LX006300

AG,OU12401,10112 -19-07AUG00-9/10


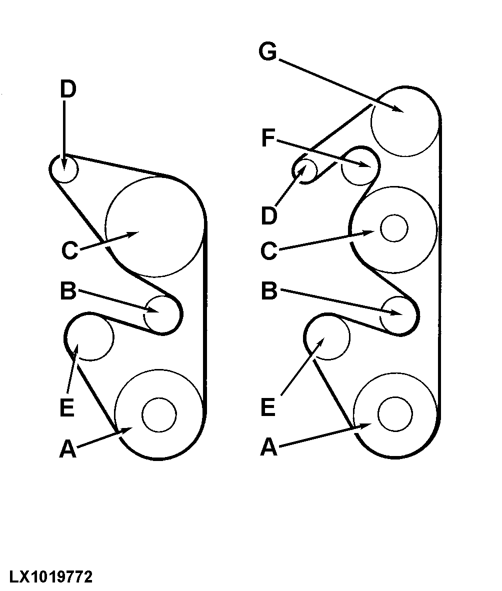
Installing New Drive Belt

Slacken drive belt tensioner and install drive belt correctly.

For further assembly, see "Removing Drive Belt".


A-Crankshaft
B-Idler roll
C-Fan
D-Alternator
E-Coolant pump
F-Deflection roll
G-Compressor (air conditioning system)

LX1019772

AG,OU12401,10112 -19-07AUG00-10/10