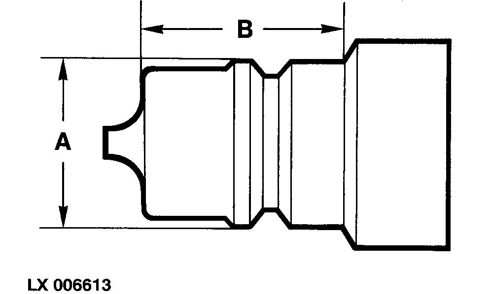
Anschluß-Stücke

Es müssen Anschlußstücke nach ISO-Norm verwendet werden.

Das Maß (A) muß zwischen 23,66 und 23,74 mm (0.931 und 0.934 in.) liegen.

Das Maß (B) muß mindestens 24 mm (0.945 in.) betragen.

LX006613

LX,OZUSAT004842 -29-02AUG93-1/1