Kotschützer einstellen (starre Kotschützer)

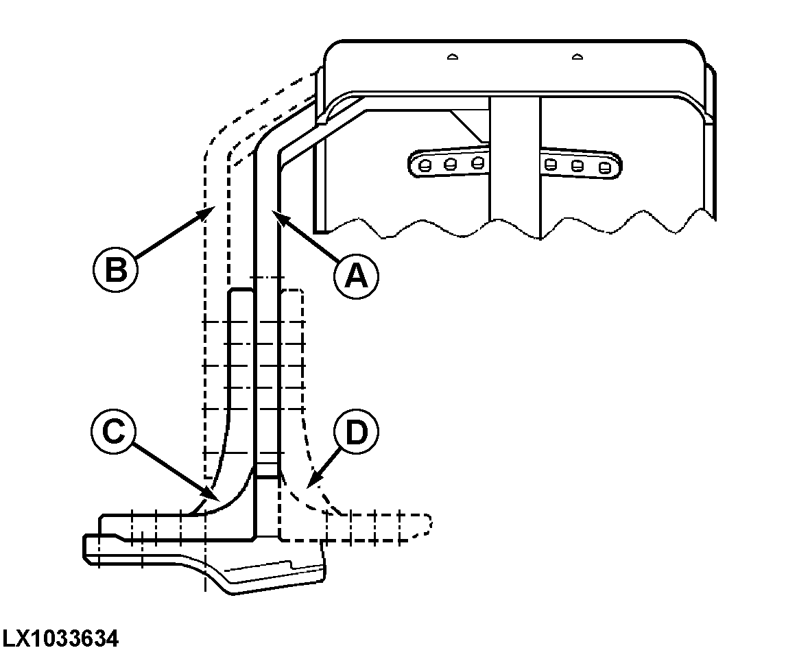
LX1033634


A-Bügel an Grundplatte (Radseite)


B-Bügel an Grundplatte (Traktorseite)


C-Grundplatte zur Traktorseite


D-Grundplatte zur Radseite

Die Vielzahl der Verstellmöglichkeiten läßt eine individuelle Einstellung der Kotflügel zu. Abhängig von Bereifung, Spurweite und Lenkeinschlag können die

Kotflügel in Neigung, Weite und Höhe eingestellt werden. Hierbei folgende Arbeitsschritte durchführen:

OULXE59,0010661 -29-23JUL04-1/3


1. Traktor vorne so weit anheben, daß die Frontantriebsachse vollständig gependelt werden kann.

2. Lenkung in beide Richtungen einschlagen und Achse pendeln um die günstigste Anbauposition für die Kotflügel zu ermitteln.

3. Position des Kotflügels so einstellen, daß die gezeigten Mindestabstände eingehalten werden, ohne daß es zur Berührung mit dem Traktorrahmen kommt.

A = 40 mm (1.57 in.), B = 60 mm (2.36 in.)

4. Unbedingt zusätzlich den Lenkanschlag so einstellen, daß eine Berührung des Rades oder des Kotflügels mit dem Traktorrahmen verhindert wird.

LX1033892
LX1033894

OULXE59,0010661 -29-23JUL04-2/3


Schrauben mit folgenden Drehmomenten festziehen:

Schrauben (A)... 140 N·m (105 lb-ft)
Schrauben (B)... 140 N·m (105 lb-ft)
Schrauben (C)... 190 N·m (140 lb-ft)

 


A-Sechskantschrauben, Bügel an Grundplatte
B-Sechskantschrauben, Grundplatte an Sockel
C-Innensechskantschrauben, Sockel an Achsschenkelgehäuse

LX1033635

OULXE59,0010661 -29-23JUL04-3/3