Kotschützer einstellen (drehbare Kotschützer)

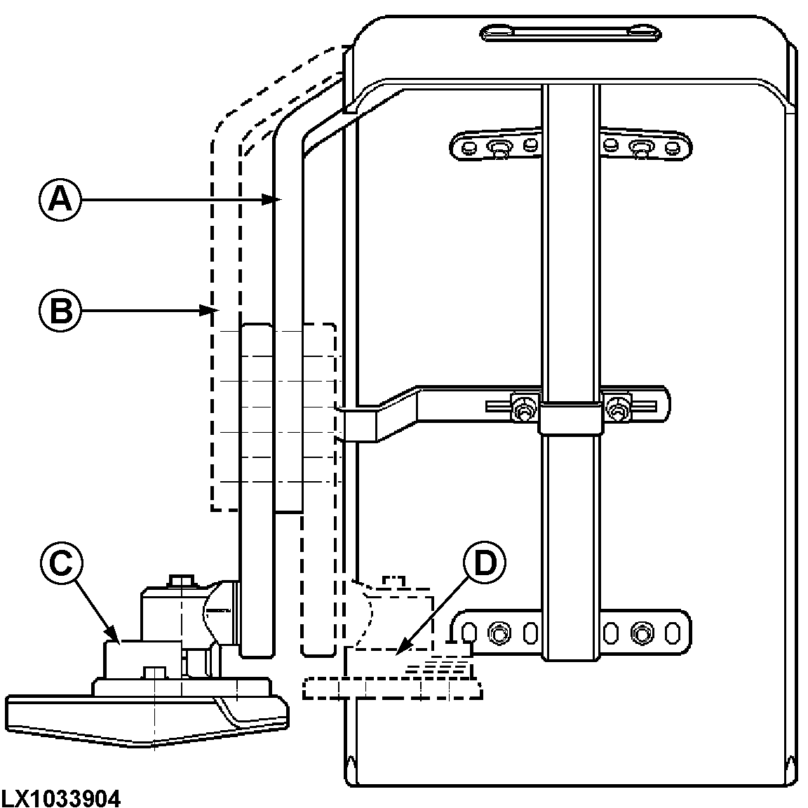
LX1033904


A-Bügel an Verstellarm (Radseite)


B-Bügel an Verstellarm (Traktorseite)


C-Gelenkplatte zur Traktorseite


D-Gelenkplatte zur Radseite

Die Vielzahl der Verstellmöglichkeiten läßt eine individuelle Einstellung der Kotflügel zu. Abhängig von Bereifung, Spurweite und Lenkeinschlag können die

Kotflügel in Neigung, Weite und Höhe eingestellt werden. Hierbei folgende Arbeitsschritte durchführen:

OULXE59,0010662 -29-23JUL04-1/3


1. Traktor vorne so weit anheben, daß die Frontantriebsachse vollständig gependelt werden kann.

2. Lenkung in beide Richtungen einschlagen und Achse pendeln um die günstigste Anbauposition für die Kotflügel zu ermitteln.

3. Position des Kotflügels so einstellen, daß die gezeigten Mindestabstände eingehalten werden, ohne daß es zur Berührung mit dem Traktorrahmen kommt.

A = 40 mm (1.57 in.), B = 60 mm (2.36 in.)

4. Anschlag des Kotflügels so einstellen, das dieser bei voll eingeschlagener Lenkung und bei pendelnder Achse nicht an Kanten hängen bleibt. Darauf achten, daß der Anschlag den Traktorrahmen immer vor dem Kotflügel erreicht.

5. Unbedingt zusätzlich den Lenkanschlag so einstellen, daß eine Berührung des Rades mit dem Traktorrahmen verhindert wird.

LX1033892
LX1033894

OULXE59,0010662 -29-23JUL04-2/3


Schrauben mit folgenden Drehmomenten festziehen:

Schrauben (A)... 140 N·m (105 lb-ft)
Schraube (B)... 300 N·m (220 lb-ft)
Schrauben (C)... 140 N·m (105 lb-ft)
Schrauben (D)... 190 N·m (140 lb-ft)

 


A-Sechskantschrauben, Bügel an Verstellarm
B-Sechskantschraube, Verstellarm an Gelenk
C-Sechskantschrauben, Gelenkplatte an Sockel
D-Innensechskantschrauben, Sockel an Achsschenkelgehäuse

LX1033893

OULXE59,0010662 -29-23JUL04-3/3