Adjusting the Pivoting Fenders

LX1033904


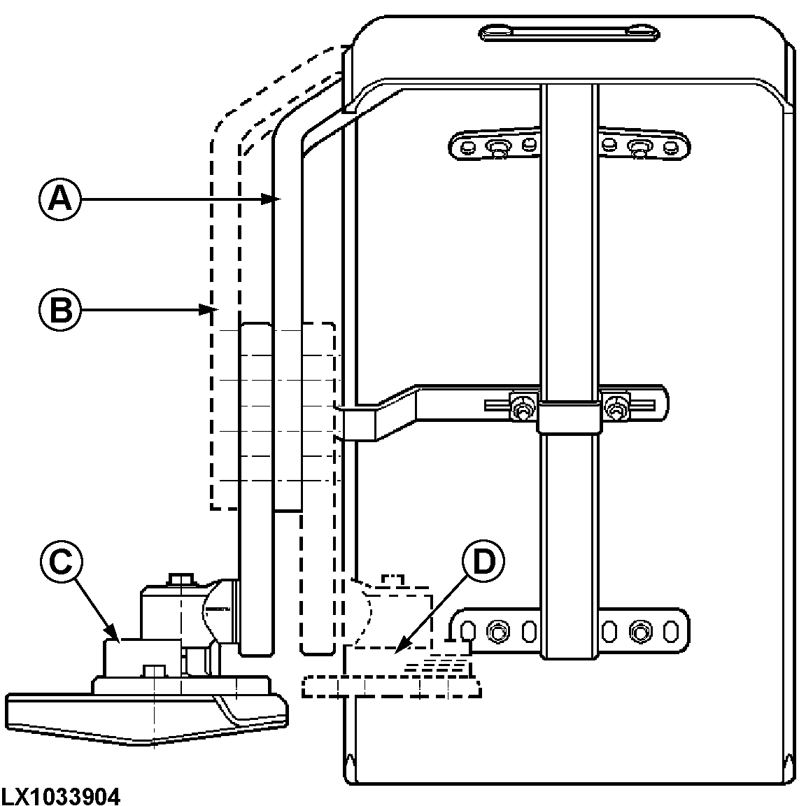
A-Support to adjusting arm (wheel side)


B-Support to adjusting arm (tractor side)


C-Pivot plate (tractor side)


D-Pivot plate (wheel side)

The fenders may be adjusted individually. Several adjusting positions are possible. Tilt, width and height of the fenders can be adjusted depending on tire size,

tread width and steering angle. To do so, proceed as follows:

OULXE59,0010662 -19-23JUL04-1/3


1. Raise front of tractor so that the front wheel drive axle can pivot freely.

2. Turn steering wheel in both directions and pivot the axle to determine the most suitable fender mounting position.

3. Adjust fender position so that the minimum clearances (see illustration) are met. There must not be any contact with the tractor frame.

A = 40 mm (1.57 in.), B = 60 mm (2.36 in.)

4. Adjust fender stop to prevent it from being seized at the edges with steering wheel fully turned and axle pivoting. Make sure that the stop contacts the tractor frame before the fender can hit the frame.

5. Also adjust the steering angle to make sure that the wheel does not come into contact with the tractor frame.

LX1033892
LX1033894

OULXE59,0010662 -19-23JUL04-2/3


Tighten the screws to the following torque values:

Screws (A)... 140 N·m (105 lb-ft)
Screw (B)... 300 N·m (220 lb-ft)
Screws (C)... 140 N·m (105 lb-ft)
Screws (D)... 190 N·m (140 lb-ft)

 


A-Cap screws, support to adjusting arm
B-Cap screw, adjusting arm to joint
C-Cap screws, pivot plate to base
D-Hex. socket screws, base to knuckle housing

LX1033893

OULXE59,0010662 -19-23JUL04-3/3