Montaje preliminar de la base de contrapesos frontal

causym ATENCION: Para todas las operaciones descritas a continuación, respetar las normas de seguridad.

causym ATENCION: Los equipos utilizados para levantar y transportar la base de contrapesos frontal debe tener una capacidad de carga de al menos 900 kg (2000 lb).

causym ATENCION: Sólo utilizar dispositivos de elevación aprobados.

causym ATENCION: Observar las normas en cuanto a seguridad laborial. No se permite la presencia de personas debajo de la carga suspendida.

NOTA: Para facilitar el transporte del contrapeso, se recomienda realizar el montaje sobre un palé. Prestar atención a la capacidad de carga del palé.

 

MHM611,6A -63-01MAR00-1/5


Depositar la base de contrapesos (A) en una superficie plana por medio de un útil de elevación apropiado.

Disponer los contrapesos laterales (B) en los flancos del elemento central e instalar el eje de montaje (C).

Apretar la tuerca (A) con 300 N·m (220 lb-ft).

Al instalar en un enganche de tres puntos, ajustar los pasadores (E) poniéndolos en posición de longitud máxima.

LX013997

MHM611,6A -63-01MAR00-2/5


Si sólo se instala el elemento central, es necesario insertar un casquillo distanciador (A) en cada lado del eje.

Apretar los tornillos con 300 N·m (220 lb-ft).

LX013999

MHM611,6A -63-01MAR00-3/5


Si el contrapeso es fijado a un soporte base de 80 kg (175 lb), instalar los espaciadores (A) en ambas caras interiores.

Al instalar los contrapesos sobre una base de contrapesos de 110 kg (240 lb), los espaciadores no resultan necesarios.

Instalar los tornillos de hexágono interior (C) inser- tándolos en el interior y bloqueándolos por medio de las tuercas (B).

LX012554

MHM611,6A -63-01MAR00-4/5


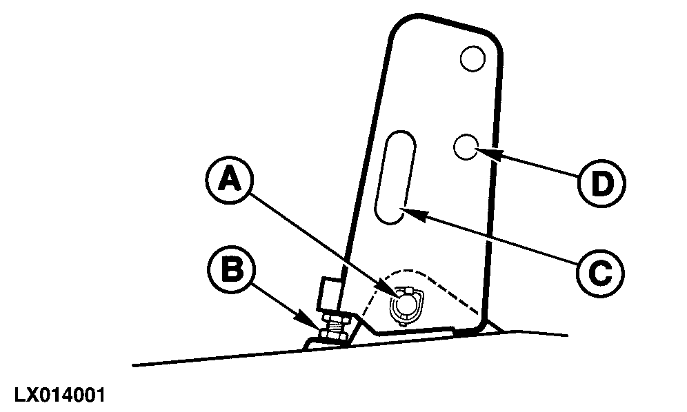
Al instalar el contrapeso en el enganche de tres puntos, poner en su lugar el tensor central. Instalar el pasador (A) y asegurarlo. Ajustar la profundidad a la que es enroscado el tornillo (B) en el soporte del tensor central, hasta que el tornillo esté en contacto con el contrapeso y bloquear el tornillo.

El soporte del tensor central presenta un hueco (C) permitiendo el alojamiento de los espaciadores no utilizados.

Cuando no se utiliza el soporte del tensor central, replegarlo y fijarlo al contrapeso por medio del orificio (D).

LX014001

MHM611,6A -63-01MAR00-5/5