Ajuste de los guardabarros fijos

LX1033634


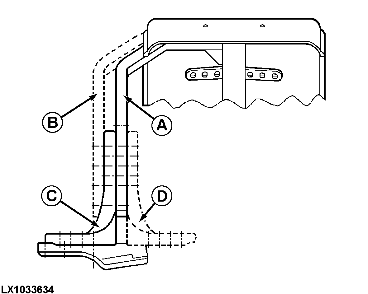
A-Apoyo a la placa base (lado de la rueda)


B-Apoyo a la placa base (lado del tractor)


C-Placa base (lado del tractor)


D-Placa base (lado de la rueda)

Los guardabarros pueden ajustarse individualmente. Hay varias posiciones de ajuste. La inclinación, la anchura y la altura de los guardabarros puede

ajustarse en función del tamaño de los neumáticos, el ancho de vía y el ángulo de giro. Para el ajuste, proceda del siguiente modo:

OULXE59,0010661 -63-23JUL04-1/3


1. Eleve la parte delantera del tractor, de modo que el puente de tracción delantera pueda pivotar libremente.

2. Gire el volante en ambos sentidos y pivote el eje a fin de determinar la posición de montaje más adecuada para el guardabarros.

3. Ajuste la posición del guardabarros de modo que las holguras sean las mínimas (véase ilustración). No debe haber contacto con el bastidor del tractor.

A = 40 mm (1.57 in.), B = 60 mm (2.36 in.)

4. Ajuste también el ángulo de giro hasta asegurarse de que ni la rueda ni el guardabarros tocan el bastidor del tractor.

LX1033892
LX1033894

OULXE59,0010661 -63-23JUL04-2/3


Apriete los tornillos con los siguientes pares:

Tornillos (A)... 140 N·m (105 lb-ft)
Tornillos (B)... 140 N·m (105 lb-ft)
Tornillos (C)... 190 N·m (140 lb-ft)

 


A-Tornillos, apoyo a placa base
B-Tornillos, placa base a base
C-Tornillos de hex. interior, base a portamanguetas

LX1033635

OULXE59,0010661 -63-23JUL04-3/3