Ajuste de los guardabarros oscilantes

LX1033904


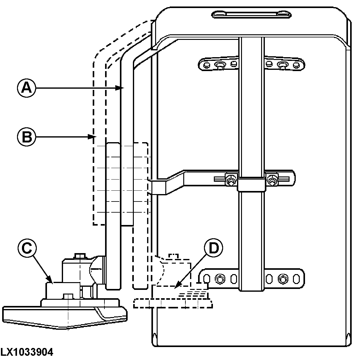
A-Apoyo a brazo de ajuste (lado de la rueda)


B-Apoyo a brazo de ajuste (lado del tractor)


C-Placa de articulación (lado del tractor)


D-Placa de articulación (lado de la rueda)

Los guardabarros pueden ajustarse individualmente. Hay varias posiciones de ajuste. La inclinación, la anchura y la altura de los guardabarros puede

ajustarse en función del tamaño de los neumáticos, el ancho de vía y el ángulo de giro. Para el ajuste, proceda del siguiente modo:

OULXE59,0010662 -63-23JUL04-1/3


1. Eleve la parte delantera del tractor, de modo que el puente de tracción delantera pueda pivotar libremente.

2. Gire el volante en ambos sentidos y pivote el eje a fin de determinar la posición de montaje más adecuada para el guardabarros.

3. Ajuste la posición del guardabarros de modo que las holguras sean las mínimas (véase ilustración). No debe haber contacto con el bastidor del tractor.

A = 40 mm (1.57 in.), B = 60 mm (2.36 in.)

4. Ajuste el tope del guardabarros para evitar que quede enganchado en los bordes al girar del todo el volante y con el eje pivotado. Compruebe que el tope hace contacto con el bastidor del tractor antes de que el guardabarros pueda llegar a tocarlo.

5. Ajuste también el ángulo de giro de modo que la rueda no toque el bastidor del tractor.

LX1033892
LX1033894

OULXE59,0010662 -63-23JUL04-2/3


Apriete los tornillos con los siguientes pares:

Tornillos (A)... 140 N·m (105 lb-ft)
Tornillo (B)... 300 N·m (220 lb-ft)
Tornillos (C)... 140 N·m (105 lb-ft)
Tornillos (D)... 190 N·m (140 lb-ft)

 


A-Tornillos, soporte a brazo de ajuste
B-Tornillo, brazo de ajuste a junta
C-Tornillos, placa de articulación a base
D-Tornillos de hex. interior, base a portamanguetas

LX1033893

OULXE59,0010662 -63-23JUL04-3/3