Giunti per tubi flessibili

I giunti per tubi utilizzati devono essere conformi agli standard ISO.

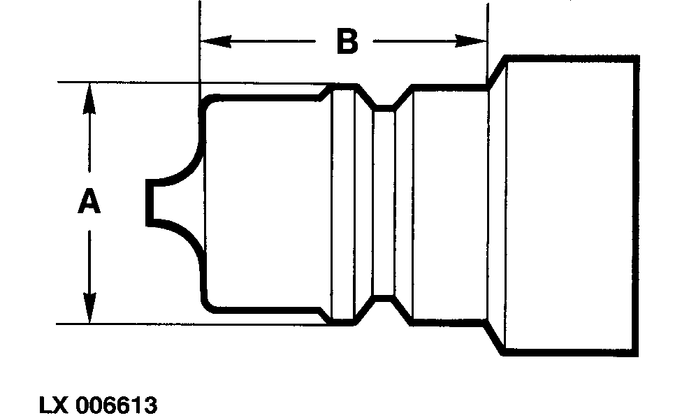
La dimensione (A) deve essere compresa tra 23,66 e 23,74 mm.

La dimensione (B) deve essere di almeno 24 mm.

LX006613

LX,OZUSAT004842 -39-02AUG93-1/1