Preassemblaggio del peso con barra di presa

causym ATTENZIONE: Nell'esecuzione delle operazioni che seguono, rispettare le istruzioni per la sicurezza.

causym ATTENZIONE: Le attrezzature per sollevare e trasportare il peso devono essere in grado di supportare almeno 900 kg.

causym ATTENZIONE: Usare solo organi di sollevamento approvati.

causym ATTENZIONE: Rispettare le norme di sicurezza. Non sostare sotto i carichi sospesi.

NOTA: Per facilitare la movimentazione del peso sarebbe bene preassemblarlo su un pallet. Accertarsi che il pallet possa sostenere il peso.

 

MHM611,6A -39-01MAR00-1/5


Usare un paranco e abbassare il peso centrale (A) su una superficie orizzontale.

Collocare i pesi laterali (B) adiacenti al peso centrale ed inserire la barra di sostegno (C).

Serrare i dadi (D) a 300 N·m.

Se si prevede di montare il gruppo su un attacco a tre punti, regolare le spine (E) alla loro massima lunghezza.

LX013997

MHM611,6A -39-01MAR00-2/5


Se si monta solo il peso centrale, installare un distanziatore (A) su ciascun lato della barra di sostegno.

Serrare i dadi a 300 N·m.

LX013999

MHM611,6A -39-01MAR00-3/5


Quando si unisce ad un peso base di 80 kg, installare un distanziatore (A) su entrambi i lati interni.

Quando si unisce ad un peso base di 110 kg, non servono i distanziatori.

Inserire le viti a esagono interno (C) dal lato interno ed installare i dadi (B).

LX012554

MHM611,6A -39-01MAR00-4/5


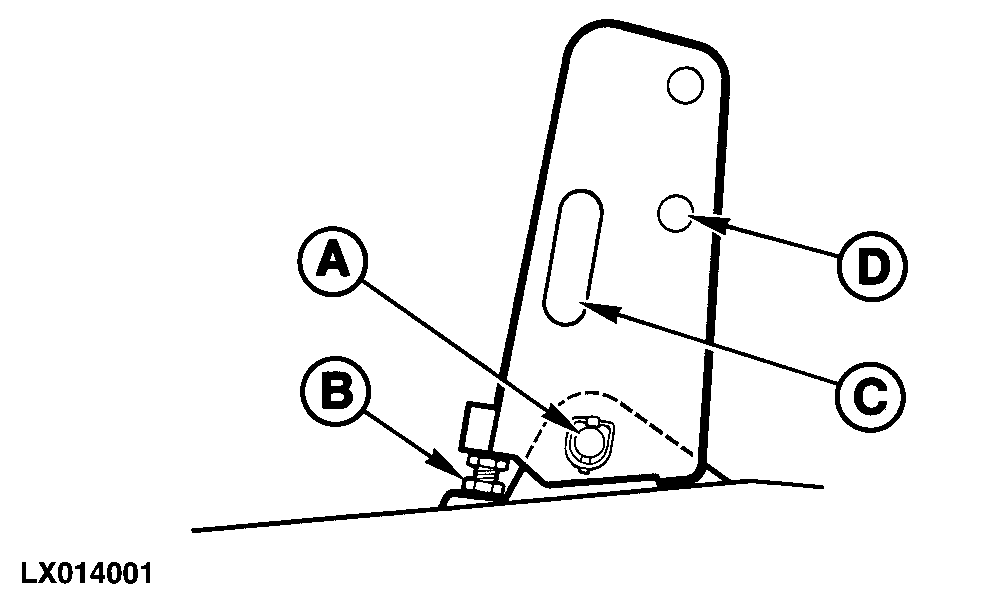
Se si prevede di montare il gruppo su un attacco a tre punti, installare la staffa per il terzo punto. Installare e fissare la spina (A). Regolare la vite (B) nella staffa suddetta fino a portare la testa a contatto con il peso e quindi bloccare con il controdado.

La staffa per il terzo punto ha una rientranza (C) dove possono essere risposti i distanziatori non usati.

Quando la staffa per il terzo punto non viene usata, può essere ripiegata e fissata al peso tramite il foro (D).

LX014001

MHM611,6A -39-01MAR00-5/5