Regolazione dei parafanghi fissi

LX1033634


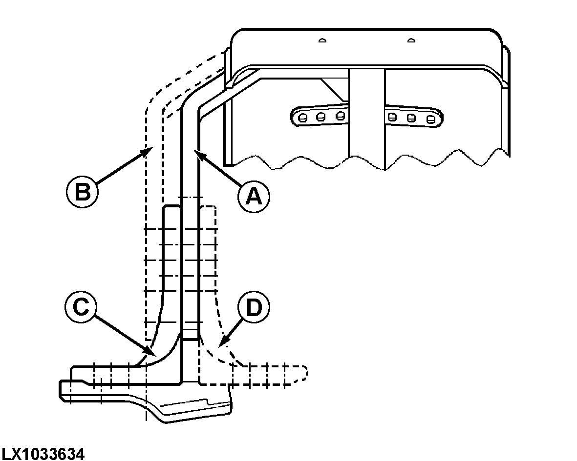
A-Da supporto a piastra base (lato ruota)


B-Da supporto a piastra base (lato trattore)


C-Piastra base (lato trattore)


D-Piastra base (lato ruota)

I parafanghi possono essere regolati singolarmente. Sono possibili diverse regolazioni. L'inclinazione, la larghezza e l'altezza dei parafanghi possono essere

regolate in funzione della dimensione dei pneumatici, della larghezza della carreggiata e dell'angolo di sterzatura. Per fare ciò, procedere come segue:

OULXE59,0010661 -39-23JUL04-1/3


1. Sollevare la parte anteriore del trattore in modo che l'assale per la trazione anteriore possa pivotare liberamente.

2. Ruotare il volante in entrambi i sensi e fare muovere l'assale in modo da determinare la migliore posizione di montaggio del parafango.

3. Regolare la posizione del parafango in modo che vengano assicurate le distanze minime (vedi illustrazione). Non deve esserci alcun contatto con il telaio del trattore.

A = 40 mm, B = 60 mm

4. Regolare anche l'angolo di sterzatura in modo che la ruota o il parafango non contatti il telaio del trattore.

LX1033892
LX1033894

OULXE59,0010661 -39-23JUL04-2/3


Serrare le viti ai valori specificati di seguito:

Viti (A)... 140 N·m
Viti (B)... 140 N·m
Viti (C)... 190 N·m

 


A-Viti fissaggio supporto a piastra base
B-Viti fissaggio piastra base a base
C-Viti con incavo esagonale fissaggio base a fuso a snodo

LX1033635

OULXE59,0010661 -39-23JUL04-3/3