Regolazione dei parafanghi pivotanti

LX1033904


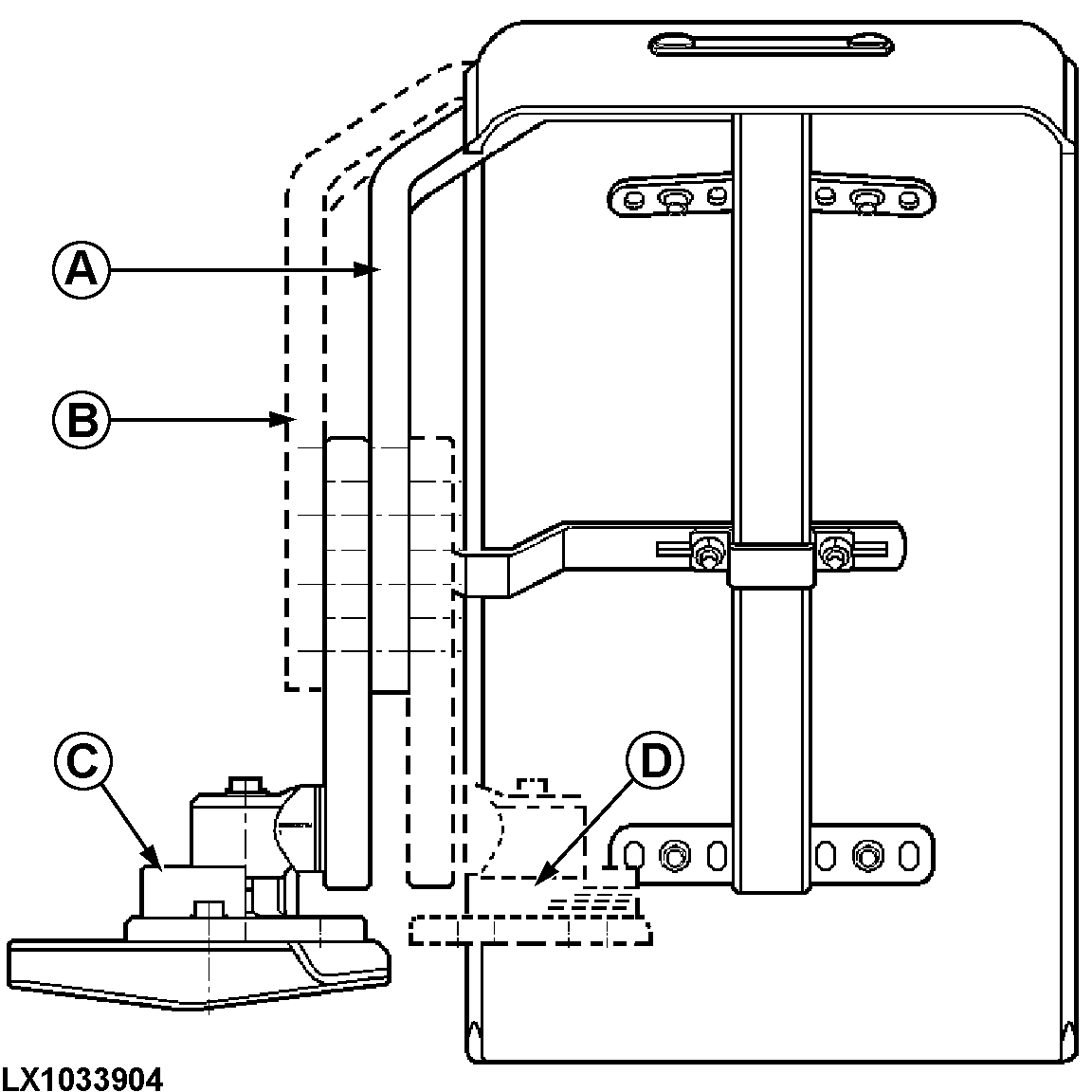
A-Da supporto a braccio regolabile (lato ruota)


B-Da supporto a braccio regolabile (lato trattore)


C-Piastra pivotante (lato trattore)


D-Piastra pivotante (lato ruota)

I parafanghi possono essere regolati singolarmente. Sono possibili diverse regolazioni. L'inclinazione, la larghezza e l'altezza dei parafanghi possono essere

regolate in funzione della dimensione dei pneumatici, della larghezza della carreggiata e dell'angolo di sterzatura. Per fare ciò, procedere come segue:

OULXE59,0010662 -39-23JUL04-1/3


1. Sollevare la parte anteriore del trattore in modo che l'assale per la trazione anteriore possa pivotare liberamente.

2. Ruotare il volante in entrambi i sensi e fare muovere l'assale in modo da determinare la migliore posizione di montaggio del parafango.

3. Regolare la posizione del parafango in modo che vengano assicurate le distanze minime (vedi illustrazione). Non deve esserci alcun contatto con il telaio del trattore.

A = 40 mm, B = 60 mm

4. Regolare il fermo del parafango per evitare che sia forzato ai bordi quando il volante viene ruotato completamente e l'assale è alla massima inclinazione. Accertarsi che il fermo contatti il telaio del trattore prima che questo venga urtato dal parafango.

5. Regolare anche l'angolo di sterzatura in modo che la ruota non contatti il telaio del trattore.

LX1033892
LX1033894

OULXE59,0010662 -39-23JUL04-2/3


Serrare le viti alle coppie specificate di seguito:

Viti (A)... 140 N·m
Vite (B)... 300 N·m
Viti (C)... 140 N·m
Viti (D)... 190 N·m

 


A-Viti fissaggio supporto a braccio regolabile
B-Vite fissaggio braccio regolabile a giunto
C-Viti fissaggio piastra pivotante a base
D-Viti con incavo esagonale fissaggio base a fuso a snodo

LX1033893

OULXE59,0010662 -39-23JUL04-3/3