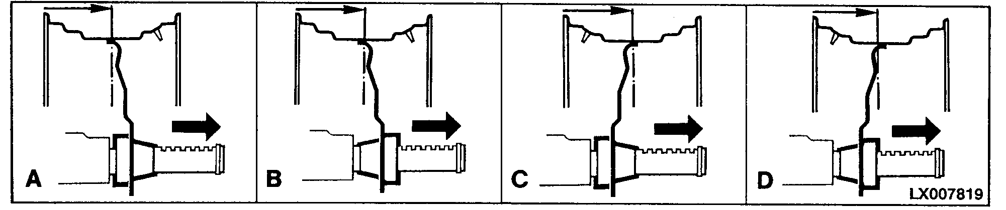
Positions of Rims and Wheel Disks with Rack-and-Pinion Axle

LX009838

Cast wheels

LX007819

Steel wheels

NOTE: Use the drawings to determine the appropriate position of rims and wheel disks. Positions vary depending on type used.

With 13.6-38 and 14.9-38 cast wheels, the valve is on the opposite side.

Only positions A, B, G and H are possible with 30 in. wheels.

AG,OU12401,305 -19-10APR00-1/1