Tread Widths With Standard Rack-and-Pinion Axle

Wheels Tires Position Tread Width Position Tread Width
Cast wheels (eight positions) 16.9-38 A 1563-1736 mm (61.5-68.3 in.) E 1624-2010 mm (63.9-79.1 in.)
    B 1563-1940 mm (61.5-76.4 in.) F 1828-2214 mm (72.0-87.2 in.)
    C 1563-1936 mm (61.5-76.2 in.) G 1824-2210 mm (71.8-87.0 in.)
    D 1710-2140 mm (67.3-84.3 in.) H 2028-2414 mm (79.8-95.0 in.)
  18.4-38 A 1563-1736 mm (61.5-68.3 in.) E 1624-2010 mm (63.9-79.1 in.)
    B 1563-1940 mm (61.5-76.4 in.) F 1828-2214 mm (72.0-87.2 in.)
    C 1563-1936 mm (61.5-76.2 in.) G 1824-2210 mm (71.8-87.0 in.)
    D 1710-2140 mm (67.3-84.3 in.) H 2028-2414 mm (79.8-95.0 in.)
Cast wheels (four positions) 16.9-30 A 1563-1734 mm (61.5-68.3 in.) G 1826-2212 mm (71.9-87.1 in.)
    B 1563-1938 mm (61.5-76.3 in.) H 2030-2416 mm (79.9-95.1 in.)
  18.4-30 A 1604-1734 mm (63.1-68.3 in.) G 1826-2212 mm (71.9-87.1 in.)
    B 1604-1938 mm (63.1-76.3 in.) H 2030-2416 mm (79.9-95.1 in.)
  16.9-34 A 1668-2098 mm (65.7-82.6 in.) C 1563-1848 mm (61.5-72.8 in.)
    B 1872-2302 mm (73.7-90.6 in.) D 1666-2052 mm (65.6-80.8 in.)
  18.4-34 A 1668-2098 mm (65.7-82.6 in.) C 1604-1848 mm (63.1-82.3 in.)
    B 1872-2302 mm (73.7-90.6 in.) D 1666-2052 mm (65.6-80.8 in.)
Steel wheels 12.4-42a A 1440-1732 mm (56.7-68.2 in.) E 1692-2132 mm (66.6-83.9 in.)
    B 1440-1836 mm (56.7-72.3 in.) F 1796-2236 mm (70.7-88.0 in.)
    C 1472-1912 mm (58.0-75.3 in.) G 1872-2312 mm (73.7-91.0 in.)
    D 1576-2016 mm (62.0-79.4 in.) H 1976-2416 mm (77.8-95.1 in.)
  13.6-46a A 1473-1752 mm (58.0-69.0 in.) E 1712-2152 mm (67.4-84.7 in.)
    B 1473-1856 mm (58.0-73.1 in.) F 1816-2256 mm (71.5-88.8 in.)
    C 1492-1932 mm (58.7-76.1 in.) G 1852-2292 mm (72.9-90.2 in.)


D
1556-1996 mm (61.3-78.6 in.)
H
1956-2396 mm (77.0-94.3 in.)
aWheel hub with pinion outside. By turning wheel hub around to put the pinion inside, it is possible to increase tread width by 50 mm (2 in.).

 

OU12401,0000BC5 -19-01JAN03-1/2


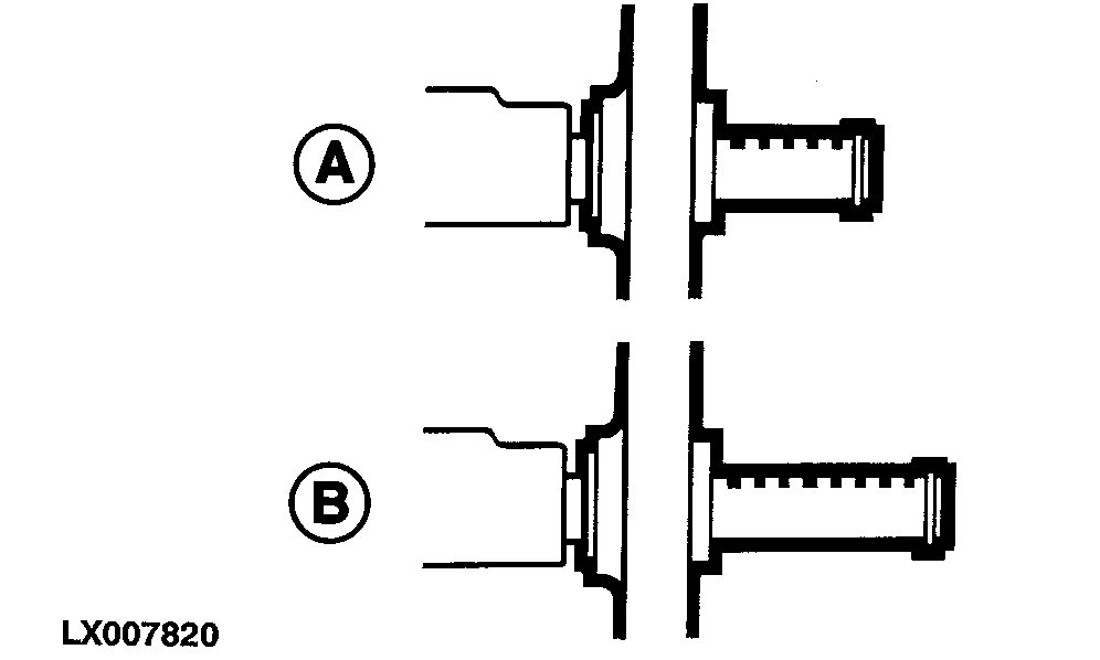
On the long rack-and-pinion axle, the maximum tread widths quoted above increase by 286 mm (11.3 in.).


A-Short rack-and-pinion axle (29 teeth)
B-Long rack-and-pinion axle (42 teeth)

LX007820

OU12401,0000BC5 -19-01JAN03-2/2