Kotschützer einstellen (starre Kotschützer)

Die Vielzahl der Verstellmöglichkeiten läßt eine individuelle Einstellung der Kotflügel zu. Abhängig von der Bereifung können die Kotflügel in Neigung, Weite und Höhe eingestellt werden. Hierbei folgende Arbeitsschritte durchführen:


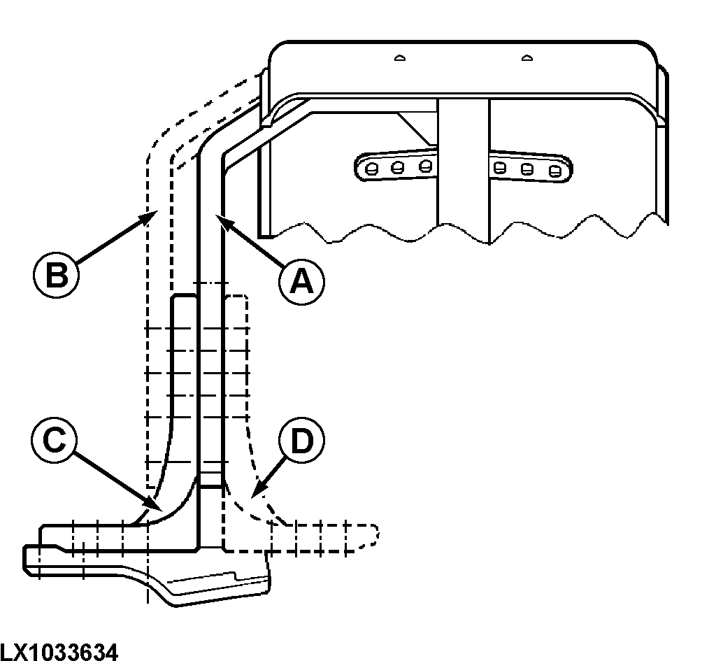
A-Bügel an Grundplatte (Radseite)
B-Bügel an Grundplatte (Traktorseite)
C-Grundplatte zur Traktorseite
D-Grundplatte zur Radseite

LX1033634

OU12401,00015BC -29-14DEC06-1/4


1. Traktor vorne so weit anheben, daß die Frontantriebsachse vollständig gependelt werden kann.

2. Lenkung in beide Richtungen einschlagen und Achse pendeln um die günstigste Anbauposition für die Kotflügel zu ermitteln.

3. Position des Kotflügels so einstellen, daß die gezeigten Mindestabstände eingehalten werden, ohne daß es zur Berührung mit dem Traktorrahmen kommt.

A = 40 mm (1.57 in.), B = 60 mm (2.36 in.)

LX1031619
LX1033894

OU12401,00015BC -29-14DEC06-2/4


4. Unbedingt zusätzlich den Lenkanschlag so einstellen, daß eine Berührung des Rades oder des Kotflügels mit dem Traktorrahmen verhindert wird.

LX1031620

OU12401,00015BC -29-14DEC06-3/4


Schrauben mit folgenden Drehmomenten festziehen:

Schrauben (A)... 140 N·m (105 lb-ft)
Schrauben (B)... 140 N·m (105 lb-ft)
Schrauben (C)... 190 N·m (140 lb-ft)

 


A-Sechskantschrauben, Bügel an Grundplatte
B-Sechskantschrauben, Grundplatte an Sockel
C-Innensechskantschrauben, Sockel an Achsschenkelgehäuse

LX1033635

OU12401,00015BC -29-14DEC06-4/4