Kotschützer einstellen (drehbare Kotschützer)

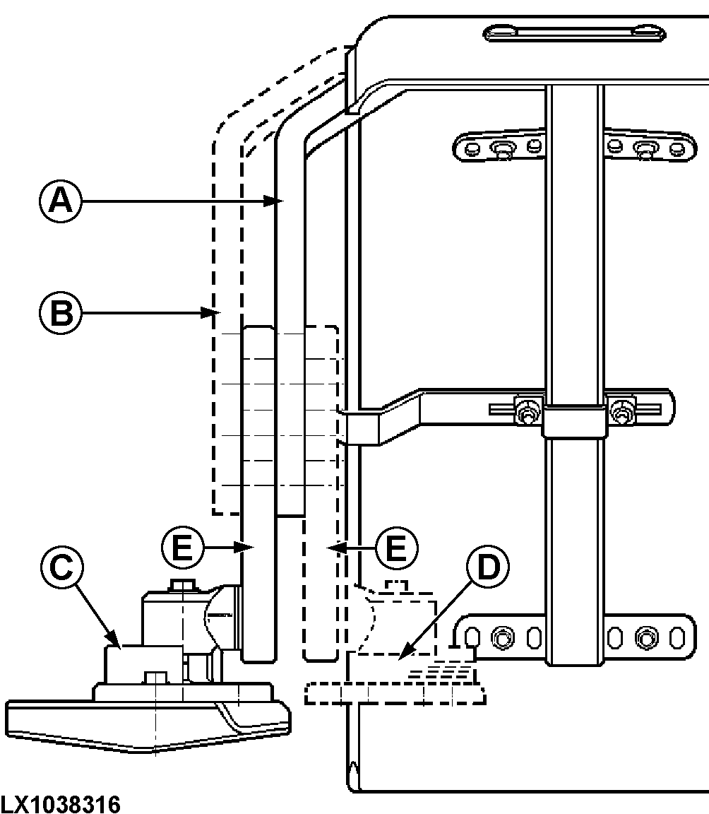
Die Vielzahl der Verstellmöglichkeiten läßt eine individuelle Einstellung der Kotflügel zu. Abhängig von der Bereifung können die Kotflügel in Neigung, Weite und Höhe eingestellt werden. Soll zwischen Position C und D gewechselt werden, dann das Teil drehen (nicht auf der anderen Traktorseite anbauen). Anschließend die Neigung des Verstellarmes (E) verstellen (vorn/hinten). Zur Verstellung die folgenden Arbeitsschritte durchführen:


A-Bügel an Verstellarm (Radseite)
B-Bügel an Verstellarm (Traktorseite)
C-Gelenkplatte zur Traktorseite
D-Gelenkplatte zur Radseite
E-Verstellarm

LX1038316

OU12401,00015BD -29-14DEC06-1/4


1. Traktor vorne so weit anheben, daß die Frontantriebsachse vollständig gependelt werden kann.

2. Lenkung in beide Richtungen einschlagen und Achse pendeln um die günstigste Anbauposition für die Kotflügel zu ermitteln.

3. Position des Kotflügels so einstellen, daß die gezeigten Mindestabstände eingehalten werden, ohne daß es zur Berührung mit dem Traktorrahmen kommt.

A = 40 mm (1.57 in.), B = 60 mm (2.36 in.)

4. Anschlag des Kotflügels so einstellen, das dieser bei voll eingeschlagener Lenkung und bei pendelnder Achse nicht an Kanten hängen bleibt. Darauf achten, daß der Anschlag den Traktorrahmen immer vor dem Kotflügel erreicht.

LX1031619
LX1033894

OU12401,00015BD -29-14DEC06-2/4


5. Unbedingt zusätzlich den Lenkanschlag so einstellen, daß eine Berührung des Rades mit dem Traktorrahmen verhindert wird.

LX1031620

OU12401,00015BD -29-14DEC06-3/4


Schrauben mit folgenden Drehmomenten festziehen:

Schrauben (A)... 140 N·m (105 lb-ft)
Schraube (B)... 300 N·m (220 lb-ft)
Schrauben (C)... 140 N·m (105 lb-ft)
Schrauben (D)... 190 N·m (140 lb-ft)

 


A-Sechskantschrauben, Bügel an Verstellarm
B-Sechskantschraube, Verstellarm an Gelenk
C-Sechskantschrauben, Gelenkplatte an Sockel
D-Innensechskantschrauben, Sockel an Achsschenkelgehäuse

LX1033893

OU12401,00015BD -29-14DEC06-4/4