Vormontage des Pickup-Gewichtes

causym ACHTUNG: Bei den nachfolgend beschriebenen Arbeiten sind die Sicherheitsmaßnahmen zu beachten.

causym ACHTUNG: Hebe- und Förderzeuge entsprechend dem Gewicht von 900 kg (1985 lb) auswählen.

causym ACHTUNG: Nur geprüfte Hebezeuge verwenden.

causym ACHTUNG: Arbeitssicherheit beachten. Kein Aufenthalt unter schwebenden Lasten.

HINWEIS: Um das Gewicht nach vollendeter Vormontage rangieren zu können, ist es von Vorteil, wenn der Zusammenbau auf einer Palette stattfindet. (Tragkraft beachten)

 

OU12401,0001716 -29-02APR07-1/5


Mittleres Gewicht (A) mittels Hebezeug auf ebenem Untergrund abstellen.

Die seitlichen Gewichte (B) am mittleren Gewicht anordnen und Aufnahmewelle (C) montieren.

Muttern (D) mit 300 N·m (220 lb-ft) anziehen.

Bei Anbau in Dreipunktaufhängungen die Bolzen (E) auf maximale Länge einstellen.

LX013997

OU12401,0001716 -29-02APR07-2/5


Wenn nur das mittlere Gewicht angebaut wird, so muß auf der Aufnahmewelle beidseitig eine Distanzbüchse (A) montiert werden.

Muttern mit 300 N·m (220 lb-ft) anziehen.

LX013999

OU12401,0001716 -29-02APR07-3/5


Bei Anbau an ein 80 kg (175 lb) Grundgewicht einen Distanzhalter (A) an beiden Innenseiten anordnen.

Bei Anbau an ein 110 kg (240 lb) Grundgewicht entfallen die Distanzhalter.

Innensechskantschrauben (C) von innen nach außen einsetzen und mit den Muttern (B) verschrauben.

LX012554

OU12401,0001716 -29-02APR07-4/5


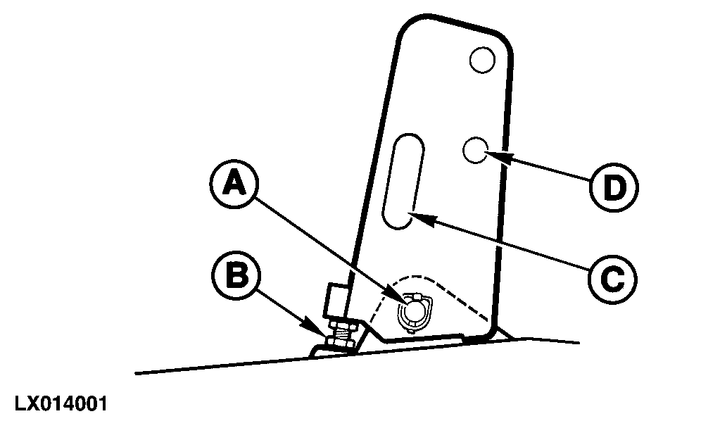
Bei Anbau in der Dreipunktaufhängung den Oberlenkerhalter anordnen. Bolzen (A) einbauen und sichern. Schraube (B) am Pickup-Gewicht anlegen und kontern.

Der Oberlenkerhalter bietet eine Vorrichtung (C) zur Aufbewahrung von Distanzstücken bei Nichtgebrauch.

Bei Nichtgebrauch des Oberlenkerhalters wird dieser gekippt und über die Bohrung (D) am Gewicht befestigt.

LX014001

OU12401,0001716 -29-02APR07-5/5