Rester à l'écart des arbres de transmission en
rotation

TS1644-UN-22AUG95

H96219-UN-29APR10
Veiller à ne pas se faire happer par un arbre de transmission
en rotation, sous peine de blessures graves, voire mortelles.
Les garants des embouts de prise de force et des arbres de transmission
doivent toujours rester en place. S’assurer que les garants
rotatifs peuvent tourner librement.
Porter des vêtements bien ajustés. Arrêter
le moteur et attendre l'immobilisation de la prise de force avant
d'entreprendre le réglage, l'attelage ou le nettoyage de l'équipement
entraîné.
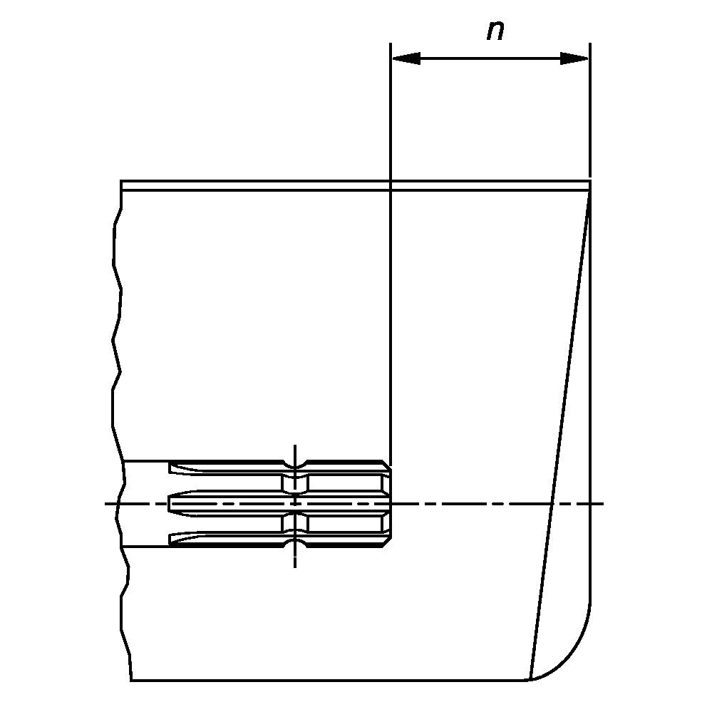
Entre la prise de force du tracteur et l'arbre d'entraînement
de l'équipement, n'installer aucun adaptateur permettant à
la prise de force de 1000 tr/min du tracteur d'entraîner à
un régime supérieur à 540 tr/min un équipement
fonctionnant avec une prise de force de 540 tr/min.
N'installer aucun adaptateur annulant la protection d'une partie
de l'arbre d'entraînement en rotation de l'équipement,
de l'arbre du tracteur ou de l'adaptateur lui-même. Le garant
des embouts de prise de force doit couvrir l'extrémité
de l'arbre cannelé et l'adaptateur ajouté; ce chevauchement
doit être conforme à la valeur indiquée dans le
tableau suivant:
|
Type de prise de force
|
Diamètre
|
Cannelures
|
n ± 5 mm (0.20 in)
|
|
1
|
35 mm (1.378 in)
|
6
|
85 mm (3.35 in)
|
|
2
|
35 mm (1.378 in)
|
21
|
85 mm (3.35 in)
|
|
3
|
45 mm (1.772 in)
|
20
|
100 mm (4.00 in)
|
|