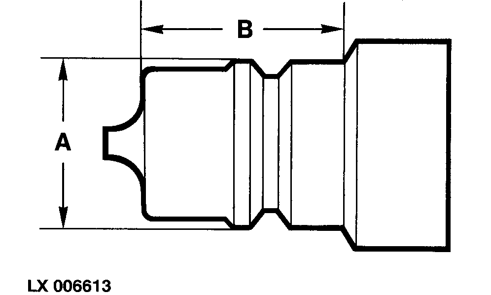
Embouts de flexible

LX006613-UN-15AUG94
Utiliser impérativement des embouts répondant
aux normes ISO.
La cote (A) doit être comprise entre 23,66 et 23,74 mm
(0.931 et 0.934 in).
La cote (B) doit être de 24 mm (0.945 in) au minimum.
|
|
LX,OZUSAT004842-28-19930802
|
|