Réglage des ailes fixes

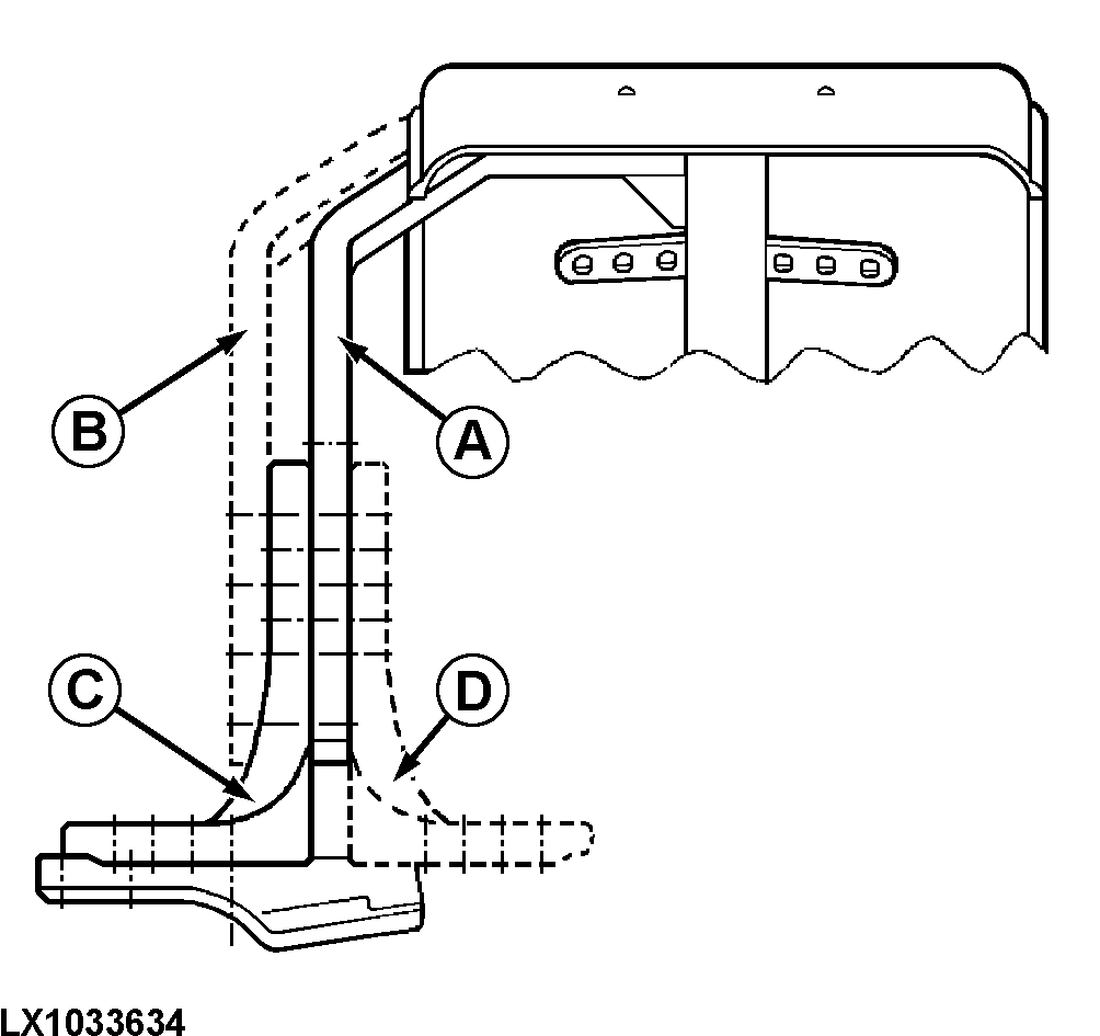
LX1033634-UN-08AUG06
A - Support sur embase (côté roue)
B - Support sur embase (côté tracteur)
C - Embase (côté tracteur)
D - Embase (côté roue)
Les ailes peuvent être réglées individuellement.
De nombreuses positions sont donc possibles. L'inclinaison, la largeur
et la hauteur des ailes peuvent être réglées en
fonction de la monte en pneus. Pour ce faire, procéder de la
façon suivante:
-

LX1031619-UN-31MAY06

LX1033894-UN-11MAR04
Lever l'avant du tracteur de façon à ce que
l'essieu de pont avant puisse pivoter librement.
-
Tourner le volant dans les deux sens et faire pivoter l'essieu
afin de déterminer la position des ailes la plus appropriée.
-
Régler la position de l'aile de façon à
respecter les écarts minimaux requis (voir schéma).
Éviter tout contact avec le châssis du tracteur.
A = 40 mm (1.57 in), B = 60 mm (2.36 in)
-

LX1031620-UN-24APR06
Régler également les butées de braquage
pour éviter que la roue ou l'aile n'entre en contact avec le
châssis du tracteur.
Serrer les vis aux couples suivants:

LX1033635-UN-10MAY04
A - Vis, support sur embase
B - Vis, embase sur base
C - Vis Allen, base sur carter de fusée
|
Vis (A)..............
|
140 N˙m (105 lb-ft)
|
|
Vis (B)..............
|
140 N˙m (105 lb-ft)
|
|
Vis (C)..............
|
190 N˙m (140 lb-ft)
|
|
|
OU12401,00015BC-28-20061214
|
|