Réglage des ailes pivotantes

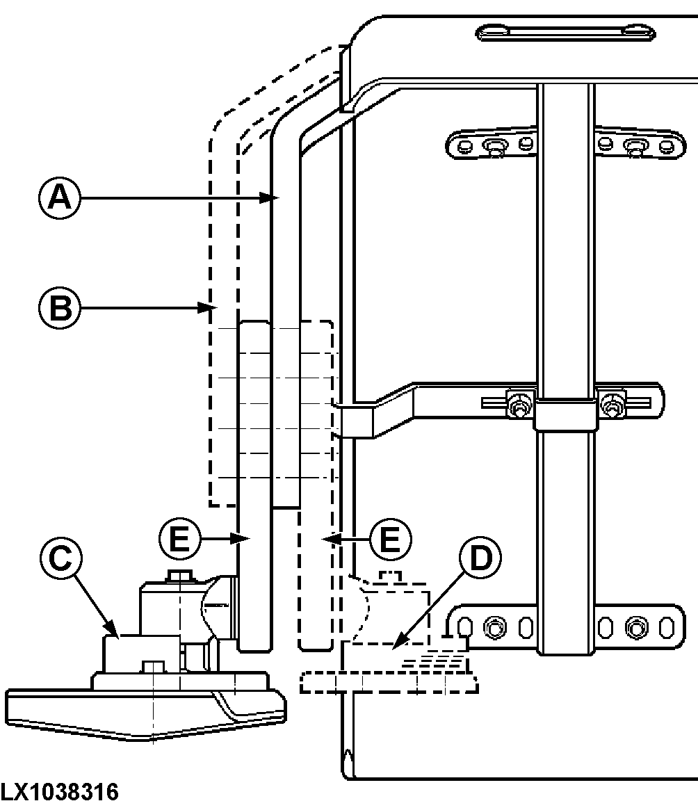
LX1038316-UN-08AUG06
A - Support sur bras de réglage (côté
roue)
B - Support sur bras de réglage (côté
tracteur)
C - Plaque pivotante (côté tracteur)
D - Plaque pivotante (côté roue)
E - Bras de réglage
Les ailes peuvent être réglées individuellement.
De nombreuses positions sont donc possibles. L'inclinaison, la largeur
et la hauteur des ailes peuvent être réglées en
fonction de la monte en pneus. S'il est prévu d'intervertir
les plaques C et D, il suffit de les faire pivoter (NE PAS les installer
de l'autre côté du tracteur). Régler ensuite l'inclinaison
(avant/arrière) du bras de réglage (E). Procéder
au réglage de la façon suivante:
-

LX1031619-UN-31MAY06

LX1033894-UN-11MAR04
Lever l'avant du tracteur de façon à ce que
l'essieu de pont avant puisse pivoter librement.
-
Tourner le volant dans les deux sens et faire pivoter l'essieu
afin de déterminer la position des ailes la plus appropriée.
-
Régler la position de l'aile de façon à
respecter les écarts minimaux requis (voir schéma).
Éviter tout contact avec le châssis du tracteur.
A = 40 mm (1.57 in), B = 60 mm (2.36 in)
-
Régler la butée de l'aile de façon à
ce que ses bords ne restent pas accrochés lorsque le volant
est tourné à fond et que l'essieu pivote. Veiller à
ce que la butée entre en contact avec le châssis du tracteur
avant que l'aile ne touche le châssis.
-

LX1031620-UN-24APR06
Régler également les butées de braquage
pour éviter que la roue n'entre en contact avec le châssis
du tracteur.
Serrer les vis aux couples suivants:

LX1033893-UN-11MAR04
A - Vis, support sur bras de réglage
B - Vis, bras de réglage sur joint
C - Vis, plaque pivotante sur base
D - Vis Allen, base sur carter de fusée
|
Vis (A)..............
|
140 N˙m (105 lb-ft)
|
|
Vis (B)..............
|
300 N˙m (220 lb-ft)
|
|
Vis (C)..............
|
140 N˙m (105 lb-ft)
|
|
Vis (D)..............
|
190 N˙m (140 lb-ft)
|
|
|
OU12401,00015BD-28-20061214
|
|