Contrôle de l'usure de la chape d'attelage avec commande
à distance
ATTENTION:

LX1031444-UN-23SEP03
Axe d'attelage droit

LX1039100-UN-11JUL06
Axe d'attelage à rotule
Les pièces ayant atteint ou excédé leur
limite d'usure doivent être remplacées par des pièces
neuves.
Contrôler les diamètres (a, b et c) de l'axe d'attelage.
| Objet de la mesure | Nature de la mesure | Valeur prescrite |
|
Axe d'attelage droit | Limite d'usure
ou diamètre minimum (a) | min. 29 mm min. 1.14 in |
|
Axe d'attelage à rotule | Limite
d'usure ou diamètre minimum (b) | min.
36,5 mm min. 1.44 in |
|
Axe d'attelage à rotule | Limite
d'usure ou diamètre minimum (c) | min.
27 mm min. 1.06 in |

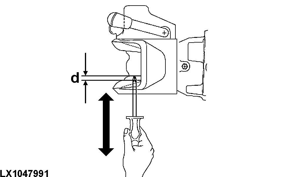
LX1047991-UN-23SEP09
Contrôler le jeu vertical (d) de l'axe d'attelage.
| Objet de la mesure | Nature de la mesure | Valeur prescrite |
|
Axe d'attelage | Jeu | max. 2,5 mm max. 0.1 in |

LX1031443-UN-23SEP03
Contrôler le diamètre (c) du trou de l'axe attelage.
| Objet de la mesure | Nature de la mesure | Valeur prescrite |
|
Trou d'attelage inférieur, sens de marche | Limite d'usure ou diamètre minimum | max. 34,0 mm (ovale) max. 1.33 in (ovale) |

LX1047992-UN-23SEP09
Contrôler l'épaisseur (e) de la plaque d'usure.
| Objet de la mesure | Nature de la mesure | Valeur prescrite |
|
Plaque d'usure | Épaisseur | min. 6 mm min. 0.24 in |
Contrôler le jeu de l'axe guide inférieur.
| Objet de la mesure | Nature de la mesure | Valeur prescrite |
|
Axe dans l'axe guide inférieur | Jeu | max. 2,5 mm max. 0.1 in |
Contrôler l'usure de l'axe d'attelage ou de l'alésage.
| Objet de la mesure | Nature de la mesure | Valeur prescrite |
|
Axe d'attelage et trou | Usure | max. 1,5 mm max. 0.06 in |

LX1048787-UN-09DEC09
Déterminer le jeu (f) entre le dispositif d'attelage
et le support.
| Objet de la mesure | Nature de la mesure | Valeur prescrite |
|
Chape d'attelage et support | Jeu | max. 3,0 mm max. 0.12 in |
|
|
OULXBER,0001964-28-20100830
|
|