Az elforduló sárvédők beállítása

LX1038316-UN-08AUG06
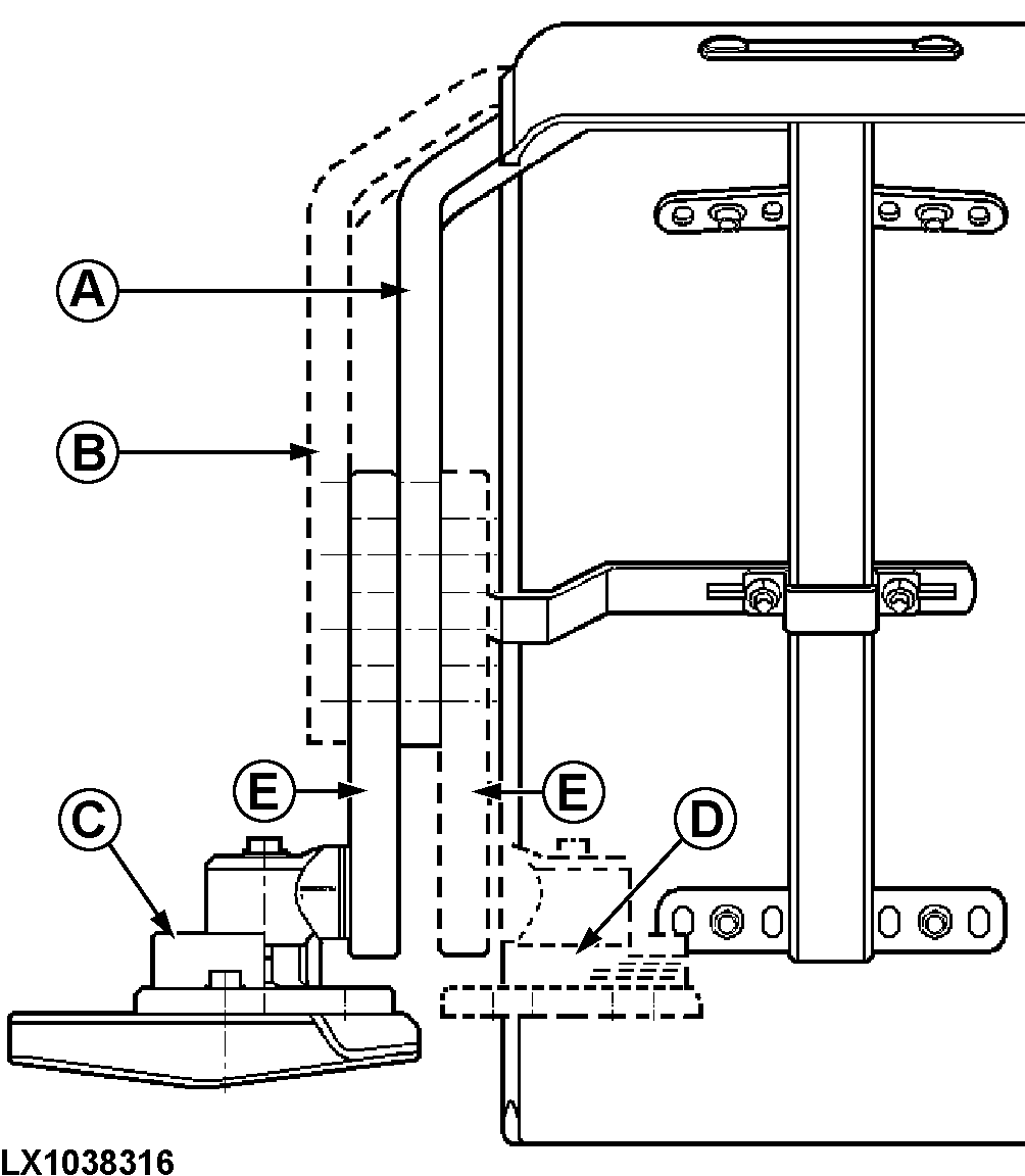
A - Tartó az állító karhoz
(kerék felőli oldal)
B - Tartó az állító karhoz
(traktor felőli oldal)
C - Forgó lap (traktor felőli oldal)
D - Forgó lap (kerék felőli oldal)
E - Beállító kar
A sárvédők külön-külön
állíthatók. Többféle beállítás
lehetséges. A gumiabroncs méretétől függően
kell a sárvédők dőlését,
szélességét és magasságát
beállítani. Ha az a szándék, hogy a C
és D pozíció között váltsunk,
fordítsa meg a részegységet (ne szerelje fel
a traktor másik oldalán). Ezután állítsa
be az állítókar (E) előre-hátra
szögét. A beállításhoz kövesse
az alábbi folyamatot:
-

LX1031619-UN-31MAY06

LX1033894-UN-11MAR04
Emelje fel a traktor elejét úgy, hogy a hajtott
mellső híd szabadon el tudjon billenni.
-
Fordítsa el a kormánykereket mindkét irányba
és billentse el a hidat, hogy lássa, a sárvédő
melyik helyzete a legmegfelelőbb.
-
Állítsa be a sárvédő helyzetét
úgy, hogy a minimális távolságok (lásd
az ábrát) meglegyenek. Sehol nem érhet hozzá
a traktor vázához.
A = 40 mm (1.57 in.), B = 60 mm (2.36 in.)
-
Állítsa be a sárvédő ütközőjét,
hogy megakadályozza a széleinek kopását,
amikor a kormánykerék teljesen el van forgatva és
a híd el van billenve. Ügyeljen arra, hogy az ütköző
előbb érje el a traktor vázát, mint ahogy
a sárvédő nekiütközne a váznak.
-

LX1031620-UN-24APR06
Állítsa be a kormányütközőket
is úgy, hogy a kerék ne érjen hozzá a
traktor vázához.
Húzza meg a csavarokat a következő
nyomatékokra:

LX1033893-UN-11MAR04
A - Csavarok, tartó az állító
karhoz
B - Csavar, állító kar a csuklóhoz
C - Csava, forgó lap az alaphoz
D - Imbusz fejű csavarok, alap a kerékagyhoz
|
Csavarok (A)..............
|
140 N˙m (105 lb-ft)
|
|
Csavar (B)..............
|
300 N˙m (220 lb-ft)
|
|
Csavarok (C)..............
|
140 N˙m (105 lb-ft)
|
|
Csavarok (D)..............
|
190 N˙m (140 lb-ft)
|
|
|
OU12401,00015BD-35-20061214
|
|