Anhängekupplung (fernbedienbar) auf Verschleiß prüfen
ACHTUNG:

LX1031444-UN-23SEP03
Kupplungsbolzen, zylindrische Form

LX1039100-UN-11JUL06
Kupplungsbolzen, ballige Form
Teile, die die Verschleißgrenze erreichen bzw. überschritten
haben, müssen ausgetauscht werden.
Durchmesser (a, b und c) des Kupplungsbolzens prüfen.
| Prüfpunkt | Maß | Spezifikation |
|
Kupplungsbolzen, zylindrische Form | Verschleißgrenze
bzw. Durchmesser (a) | min. 29 mm min. 1.14 in. |
|
Kupplungsbolzen, ballige Form | Verschleißgrenze
bzw. Durchmesser (b) | min. 36,5 mm min. 1.44 in. |
|
Kupplungsbolzen, ballige Form | Verschleißgrenze
bzw. Durchmesser (c) | min. 27 mm min. 1.06 in. |

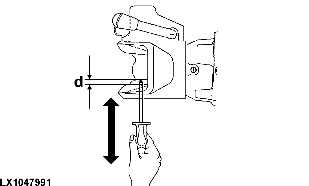
LX1047991-UN-23SEP09
Höhenspiel (d) des Kupplungsbolzens überprüfen.
| Prüfpunkt | Maß | Spezifikation |
|
Kupplungsbolzen | Spiel | max. 2,5 mm max. 0.1 in. |

LX1031443-UN-23SEP03
Durchmesser (c) der Aufnahmebohrung prüfen.
| Prüfpunkt | Maß | Spezifikation |
|
Aufnahmebohrung (unten in Fahrtrichtung) | Verschleißgrenze bzw. Durchmesser | max.
34,0 mm (oval) max. 1.33 in. (oval) |

LX1047992-UN-23SEP09
Materialstärke (e) der Verschleißplatte prüfen.
| Prüfpunkt | Maß | Spezifikation |
|
Verschleißplatte | Materialstärke | min. 6 mm min. 0.24 in. |
Spiel in der unteren Bolzenführung prüfen.
| Prüfpunkt | Maß | Spezifikation |
|
Bolzen in der unteren Bolzenführung | Spiel | max. 2,5 mm max. 0.1 in. |
Verschleiß des Kupplungsbolzens oder der Bohrung prüfen.
| Prüfpunkt | Maß | Spezifikation |
|
Kupplungsbolzen und Bohrung | Verschleiß | max. 1,5 mm max. 0.06 in. |

LX1048787-UN-09DEC09
Spiel (f) zwischen Kupplung und Aufnahme ermitteln.
| Prüfpunkt | Maß | Spezifikation |
|
Kupplung und Aufnahme | Spiel | max. 3,0 mm max. 0.12 in. |
|
|
OULXBER,0001964-29-20100830
|
|