Tread Widths, Rack-and-Pinion Axle

Wheels

Tires

Position

Tread widths

Position

Tread widths

Cast wheels (8-position)

16.9-38

A

1563-1736 mm (61.5-68.3 in.)

E

1624-2010 mm (63.9-79.1 in.)

   

B

1563-1940 mm (61.5-76.4 in.)

F

1828-2214 mm (72.0-87.2 in.)

   

C

1563-1936 mm (61.5-76.2 in.)

G

1824-2210 mm (71.8-87.0 in.)

   

D

1710-2140 mm (67.3-84.3 in.)

H

2028-2414 mm (79.8-95.0 in.)

 

18.4-38

A

1563-1736 mm (61.5-68.3 in.)

E

1624-2010 mm (63.9-79.1 in.)

   

B

1563-1940 mm (61.5-76.4 in.)

F

1828-2214 mm (72.0-87.2 in.)

   

C

1563-1936 mm (61.5-76.2 in.)

G

1824-2210 mm (71.8-87.0 in.)

   

D

1710-2140 mm (67.3-84.3 in.)

H

2028-2414 mm (79.8-95.0 in.)

Cast wheels (4-position)

16.9-30

A

1563-1734 mm (61.5-68.3 in.)

G

1826-2212 mm (71.9-87.1 in.)

   

B

1563-1938 mm (61.5-76.3 in.)

H

2030-2416 mm (79.9-95.1 in.)

 

18.4-30

A

1604-1734 mm (63.1-68.3 in.)

G

1826-2212 mm (71.9-87.1 in.)

   

B

1604-1938 mm (63.1-76.3 in.)

H

2030-2416 mm (79.9-95.1 in.)

 

16.9-34

A

1668-2098 mm (65.7-82.6 in.)

C

1563-1848 mm (61.5-72.8 in.)

   

B

1872-2302 mm (73.7-90.6 in.)

D

1666-2052 mm (65.6-80.8 in.)

 

18.4-34

A

1668-2098 mm (65.7-82.6 in.)

C

1604-1848 mm (63.1-82.3 in.)

   

B

1872-2302 mm (73.7-90.6 in.)

D

1666-2052 mm (65.6-80.8 in.)

Steel wheels

12.4-421

A

1440-1732 mm (56.7-68.2 in.)

E

1692-2132 mm (66.6-83.9 in.)

   

B

1440-1836 mm (56.7-72.3 in.)

F

1796-2236 mm (70.7-88.0 in.)

   

C

1472-1912 mm (58.0-75.3 in.)

G

1872-2312 mm (73.7-91.0 in.)

   

D

1576-2016 mm (62.0-79.4 in.)

H

1976-2416 mm (77.8-95.1 in.)

 

13.6-461

A

1473-1752 mm (58.0-69.0 in.)

E

1712-2152 mm (67.4-84.7 in.)

   

B

1473-1856 mm (58.0-73.1 in.)

F

1816-2256 mm (71.5-88.8 in.)

   

C

1492-1932 mm (58.7-76.1 in.)

G

1852-2292 mm (72.9-90.2 in.)

   

D

1556-1996 mm (61.3-78.6 in.)

H

1956-2396 mm (77.0-94.3 in.)

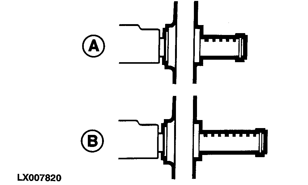
LX007820
LX007820-UN-15AUG94

A - Short rack-and-pinion axle (29 teeth)

B - Long rack-and-pinion axle (42 teeth)


On the long rack-and-pinion axle, the maximum tread widths quoted above increase by 286 mm (11.3 in.).

1 Wheel hub with pinion outside. By turning wheel hub around to put the pinion inside, it is possible to increase tread width by 50 mm (2 in.).

OU12401,000147D-19-20060622