Electrical Sockets (If Equipped)

LX1036245-UN-03JUN05
Signal socket in lateral console

LX1036634-UN-24AUG05
3-terminal socket in rear cab wall

LX1041423-UN-06NOV06
Sockets in cab frame
A - Signal Socket
B - 3-Terminal Power Outlet Socket
C - ISOBUS Socket
Signal socket
|
Terminal
|
Wire color
|
Description
|
|
1
|
Red
|
Speed determined by radar
|
|
2
|
Brown
|
Wheel speed
|
|
3
|
Orange
|
Rear PTO speed
|
|
4
|
—
|
—
|
|
5
|
—
|
—
|
|
6
|
Blue
|
Power supply
|
|
7
|
Black
|
Ground
|
The 7-terminal signal socket (A) is protected by a 30-amp fuse.
ISOBUS socket in cab
An implement monitor meeting ISO Standard 11783 may be connected
to socket (C).
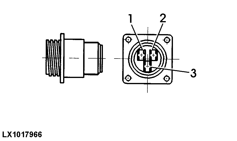
3-terminal power outlet socket

LX1017966-UN-12JAN98
Terminals 1 and 2 of 3-terminal power outlet socket (B) are
protected by a 30-amp fuse. Terminal 3 is ground.
Turn key in main (key) switch to the right to supply power to
terminal 1. Terminal 2 is supplied with power even when the ignition
is switched off.
IMPORTANT: Electrical equipment requiring high current inputs
may be operated, and the use of multiple power outlets is permitted,
but the supply circuit must never be overloaded. Remember, total load
comprises the sum of all the current consumers connected to the on-board
circuit at any one time. This also applies if the consumers are connected
to the on-board circuit at different sockets.
|
|
OU12401,0001B90-19-20100824
|
|