Adjusting the Fixed Fenders

LX1033634-UN-08AUG06
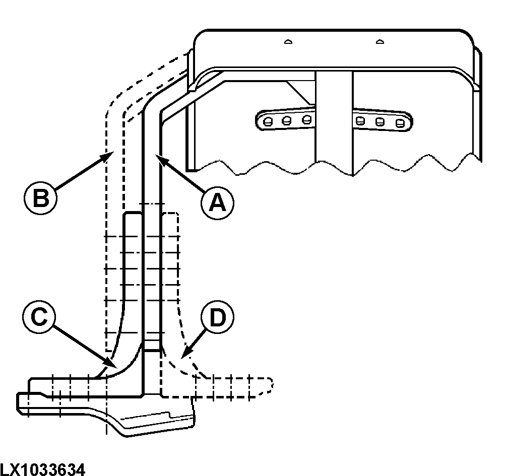
A - Support to base plate (wheel side)
B - Support to base plate (tractor side)
C - Base plate (tractor side)
D - Base plate (wheel side)
The fenders may be adjusted individually. Several adjusting
positions are possible. Tilt, width and height of the fenders can
be adjusted depending on tire size, tread width and steering angle.
To do so, proceed as follows:
-

LX1031619-UN-31MAY06

LX1033894-UN-11MAR04
Raise front of tractor so that the front wheel drive axle
can pivot freely.
-
Turn steering wheel in both directions and pivot the axle to
determine the most suitable fender mounting position.
-
Adjust fender position so that the minimum clearances (see illustration)
are met. There must not be any contact with the tractor frame.
A = 40 mm (1.57 in.), B = 60 mm (2.36 in.)
-

LX1031620-UN-24APR06
Also adjust the steering stops to make sure that neither
the wheel nor the fender come into contact with the tractor frame.
Tighten the screws to the following torque values:

LX1033635-UN-10MAY04
A - Cap screws, support to base plate
B - Cap screws, base plate to base
C - Hex. socket screws, base to knuckle housing
|
Screws (A)..............
|
140 Nm (105 lb-ft)
|
|
Screws (B)..............
|
140 Nm (105 lb-ft)
|
|
Screws (C)..............
|
190 Nm (140 lb-ft)
|
|
|
OULXE59,0010849-19-20051221
|
|