Staţi deoparte de elementele de transmitere a mişcării
de rotaţie

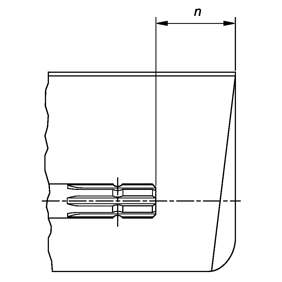
TS1644-UN-22AUG95

H96219-UN-29APR10
Agăţarea în elementele de transmitere a
mişcării de rotaţie poate provoca răniri
serioase sau moartea.
Păstraţi scutul principal al tractorului şi
scutul transmisiei la locul lor tot timpul. Asiguraţi-vă
că scuturile rotative se învârtesc liber.
Purtaţi îmbrăcăminte ajustată.
Opriţi motorul şi asiguraţi-vă că
transmisia prizei de putere este oprită înainte de a
face reglaje, conectări sau de a curăţa echipamentul
de antrenare a prizei de putere.
Nu instalaţi niciun dispozitiv de adaptare între
tractor şi arborele principal de antrenare a prizei de putere,
care va permite ca un arbore al tractorului de 1000 rpm să
antreneze un utilaj de 540 rpm la turaţii ce depăşesc
540 rpm.
Nu instalaţi niciun dispozitiv de adaptare care să
cauzeze rămânerea neprotejată a unei porţiuni
a arborelui utilajului, arborelui tractorului sau adaptorului. Scutul
principal al tractorului trebuie să treacă peste capătul
canelat şi dispozitivul adaptor suplimentar aşa cum
este specificat în tabel.
|
Tipul prizei de putere
|
Diametru
|
Canelură
|
n ± 5 mm (0.20 in.)
|
|
1
|
35 mm (1.378 in.)
|
6
|
85 mm (3.35 in.)
|
|
2
|
35 mm (1.378 in.)
|
21
|
85 mm (3.35 in.)
|
|
3
|
45 mm (1.772 in.)
|
20
|
100 mm (4.00 in.)
|
|