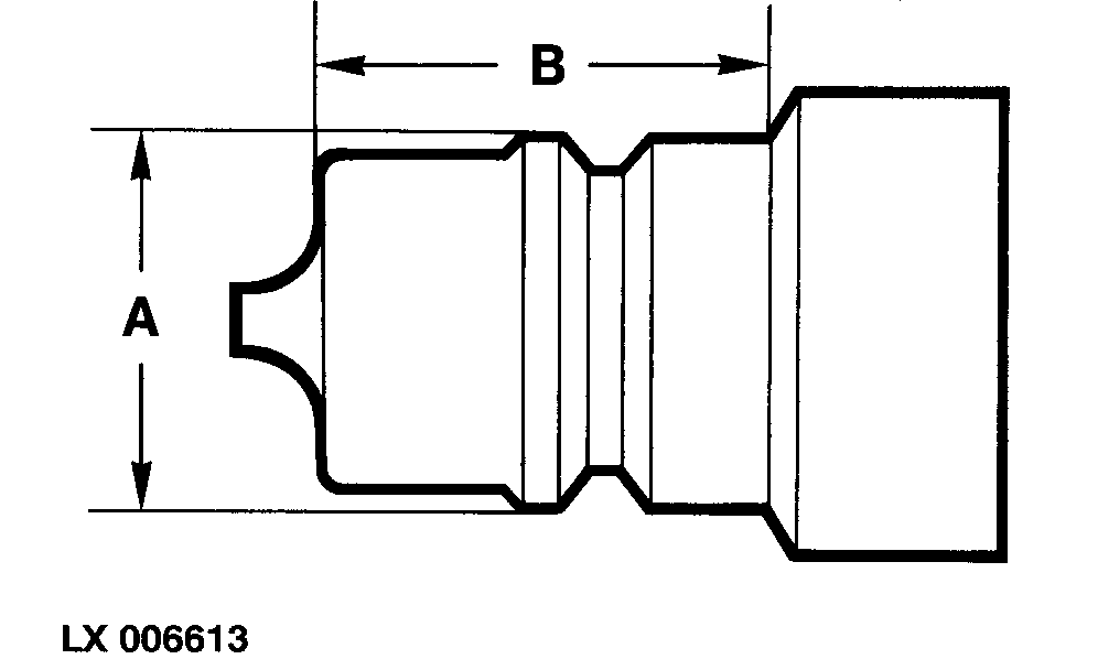
Racorduri pentru furtun

LX006613-UN-15AUG94
Racordurile pentru furtun trebuie să fie conforme standardelor
ISO.
Dimensiunea (A) trebuie să fie între 23,66 şi
23,74 mm (0.931 şi 0.934 in.).
Dimensiunea (B) trebuie să fie cel puţin 24 mm
(0.945 in.).
|
|
LX,OZUSAT004842-58-19930802
|
|