Reglarea aripilor fixe

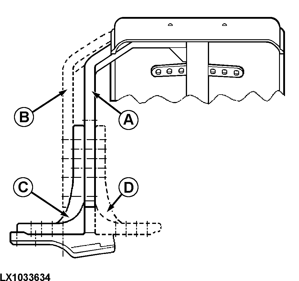
LX1033634-UN-08AUG06
A - Suport pe placa de bază (partea roţii)
B - Suport pe placa de bază (partea tractorului)
C - Placa de bază (partea tractorului)
D - Placa de bază (partea roţii)
Aripile pot fi reglate individual. Sunt posibile câteva
poziţii de reglare. Înclinarea, lăţimea
şi înălţimea aripilor pot fi reglate în
funcţie de mărimea pneului. Pentru aceasta, procedaţi
în felul următor:
-

LX1031619-UN-31MAY06

LX1033894-UN-11MAR04
Ridicaţi partea frontală a tractorului
astfel încât puntea frontală motoare să
poată pivota liber.
-
Rotiţi volanul în ambele direcţii şi
pivotaţi puntea pentru a determina cea mai potrivită
poziţie a aripii.
-
Reglaţi poziţia aripii astfel încât
să aibă jocuri minime (vezi figura). Nu trebuie
să fie nici un contact cu şasiul tractorului.
A = 40 mm (1.57 in.), B = 60 mm (2.36 in.)
-

LX1031620-UN-24APR06
Reglaţi de asemenea opritoarele direcţiei pentru
a vă asigura că nici roata şi nici aripa
nu intră în contact cu şasiul tractorului.
Strângeţi şuruburile la următoarele
valori ale cuplului:

LX1033635-UN-10MAY04
A - Şuruburi cu cap hexagonal, suport pe placa
de bază
B - Şuruburi cu cap hexagonal, placa de bază
pe bază
C - Şuruburi cu locaş hexagonal, baza
la carcasa articulaţiei
|
Şuruburi (A)..............
|
140 N˙m (105 lb-ft)
|
|
Şuruburi (B)..............
|
140 N˙m (105 lb-ft)
|
|
Şuruburi (C)..............
|
190 N˙m (140 lb-ft)
|
|
|
OU12401,00015BC-58-20061214
|
|