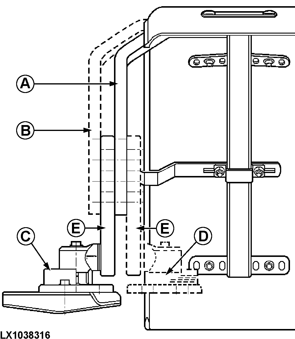
Reglarea aripilor pivotante

LX1038316-UN-08AUG06
A - Suportul la braţul de reglare (partea roţii)
B - Suportul la braţul de reglare (partea tractorului)
C - Placa pivotantă (partea tractorului)
D - Placa pivotantă (partea roţii)
E - Braţ de reglare
Aripile pot fi reglate individual. Sunt posibile câteva
poziţii de reglare. Înclinarea, lăţimea
şi înălţimea aripilor pot fi reglate în
funcţie de mărimea pneului. Dacă intenţia
este de a schimba poziţiile C şi D între
ele, rotiţi piesa (NU o montaţi în cealaltă
parte a tractorului). Apoi reglaţi unghiul faţă
- spate al braţului de reglare (E). Pentru a face reglajul,
urmaţi procedura:
-

LX1031619-UN-31MAY06

LX1033894-UN-11MAR04
Ridicaţi partea frontală a tractorului
astfel încât puntea frontală motoare să
poată pivota liber.
-
Rotiţi volanul în ambele direcţii şi
pivotaţi puntea pentru a determina cea mai potrivită
poziţie a aripii.
-
Reglaţi poziţia aripii astfel încât
să aibă jocuri minime (vezi figura). Nu trebuie
să fie nici un contact cu şasiul tractorului.
A = 40 mm (1.57 in.), B = 60 mm (2.36 in.)
-
Reglaţi opritorul aripii pentru a preveni prinderea
ei de muchii când volanul este rotit complet şi puntea
pivotată. Asiguraţi-vă că opritorul este
în contact cu şasiul tractorului înainte ca aripa
să poată lovi şasiul.
-

LX1031620-UN-24APR06
Reglaţi de asemenea opritoarele direcţiei pentru
a vă asigura că roata nu intră în
contact cu şasiul tractorului.
Strângeţi şuruburile la următoarele
valori ale cuplului:

LX1033893-UN-11MAR04
A - Şuruburi cu cap hexagonal, suportul la braţul
de reglare
B - Şuruburi cu cap hexagonal, braţul
de reglare la articulaţie
C - Şuruburi cu cap hexagonal, placa pivotantă
pe bază
D - Şuruburi cu locaş hexagonal, baza
la carcasa articulaţiei
|
Şuruburi (A)..............
|
140 N˙m (105 lb-ft)
|
|
Şurub (B)..............
|
300 N˙m (220 lb-ft)
|
|
Şuruburi (C)..............
|
140 N˙m (105 lb-ft)
|
|
Şuruburi (D)..............
|
190 N˙m (140 lb-ft)
|
|
|
OU12401,00015BD-58-20061214
|
|