Pre-asamblarea greutăţilor susţinute
ATENŢIE: Când executaţi lucrările descrise
mai jos, respectaţi toate instrucţiunile de siguranţă.
ATENŢIE: Echipamentul utilizat pentru ridicarea şi transportul
greutăţilor trebuie să fie capabil să
suporte cel puţin 900 kg (1985 lb).
ATENŢIE: Folosiţi numai dispozitive de suspendare omologate.
ATENŢIE: Respectaţi regulile de siguranţă.
Nu staţi sub greutăţile suspendate.

LX013997-UN-02APR96
Utilizaţi o macara pentru a coborî greutatea
centrală (A) pe o suprafaţă netedă.
Potriviţi greutăţile (B) de-a lungul greutăţii
centrale şi montaţi axul de susţinere (C).
Strângeţi piuliţele (D) la 300 N˙m (220
lb-ft).
Dacă se montează la un mecanism de suspendare
în trei puncte, reglaţi bolţul (E) la lungimea
sa maximă.

LX013999-UN-02APR96
Dacă se montează numai greutatea centrală,
montaţi o bucşă distanţieră (A)
la fiecare capăt al axului de susţinere.
Strângeţi piuliţele la 300 N˙m (220
lb-ft).

LX014000-UN-02APR96
Când montaţi o greutate de bază de 65
kg (140 lb), montaţi două distanţiere (A) şi
(C) pe fiecare din părţile interioare.
Când montaţi o greutate de bază de 80 kg
(175 lb), montaţi un distanţier (A) pe fiecare
din părţile interioare.
Când montaţi o greutate de bază de 110 kg
(240 lb), distanţierele nu sunt necesare.
Introduceţi şuruburile cu locaş hexagonal
(D) dinspre interior şi instalaţi piuliţele (B).

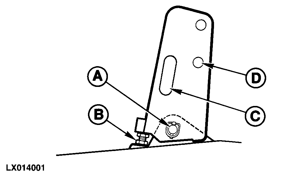
LX014001-UN-02APR96
Dacă prindeţi de mecanismul de suspendare în
trei puncte, montaţi consola tirantului superior. Introduceţi
şi asiguraţi bolţul (A). Reglaţi adâncimea
la care sunt înşurubate şuruburile (B) în
consola tirantului superior până când şurubul
este în contact cu greutatea susţinută, şi
apoi contra-blocaţi şurubul.
Consola tirantului superior are o degajare (C) în care
distanţierele pot fi păstrate când nu sunt utilizate.
Când consola tirantului superior nu este utilizată,
poate fi pliată şi asigurată pe greutatea de
bază cu ajutorul găurii (D).
|
|
OU12401,0001774-58-20070704
|
|