Verificaţi uzura cârligului pentru remorcă
comandat de la distanţă
ATENŢIE:

LX1031444-UN-23SEP03
Bolţ de cârlig drept

LX1039100-UN-11JUL06
Bolţ de cârlig de formă sferică
Piesele care au atins sau au depăşit limita
de uzură trebuie să fie înlocuite cu piese noi.
Verificaţi diametrele bolţului cârligului
(a, b şi c).
| Articolul | Dimensiunea măsurată | Specificaţie |
|
Bolţ de cârlig drept | Limita
de uzură sau diametrul (a) | min. 29 mm min. 1.14 in. |
|
Bolţ de cârlig de formă sferică
| Limita de uzură sau diametrul (b) | min. 36.5 mm min. 1.44 in. |
|
Bolţ de cârlig de formă sferică
| Limita de uzură sau diametrul (c) | min. 27 mm min. 1.06 in. |

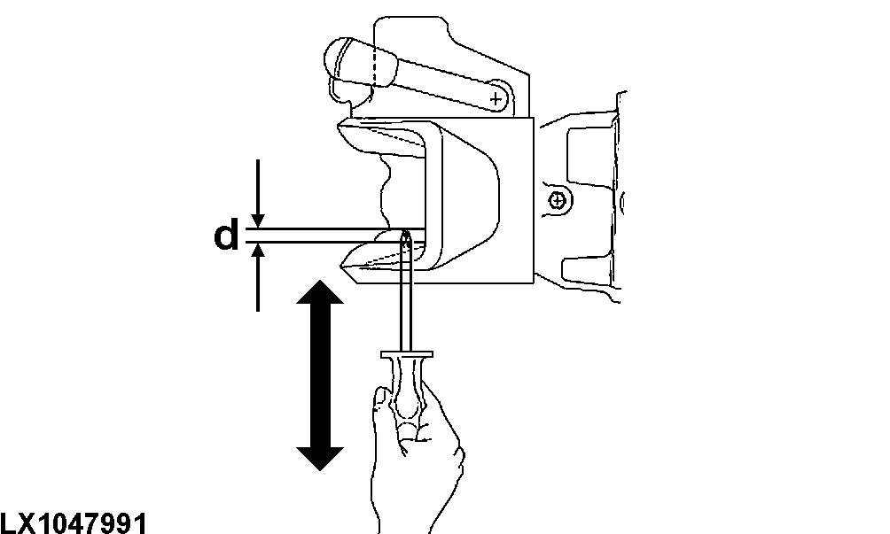
LX1047991-UN-23SEP09
Verificaţi jocul vertical (d) al bolţului cârligului.
| Articolul | Dimensiunea măsurată | Specificaţie |
|
Bolţul cârligului | Joc | max. 2.5 mm max. 0.1 in. |

LX1031443-UN-23SEP03
Verificaţi diametrul (c) al găurii pentru bolţ.
| Articolul | Dimensiunea măsurată | Specificaţie |
|
Găurile pentru bolţ de jos (în direcţia
de înaintare) | Limita de uzură
sau diametrul | max. 34.0 mm (oval) max. 1.33 in. (oval) |

LX1047992-UN-23SEP09
Verificaţi grosimea (e) a plăcii de uzură.
| Articolul | Dimensiunea măsurată | Specificaţie |
|
Placa de uzură | Grosime | min. 6 mm min. 0.24 in. |
Verificaţi jocul în ghidajul de bolţ de
jos.
| Articolul | Dimensiunea măsurată | Specificaţie |
|
Bolţ în ghidajul pentru bolţ de jos
| Joc | max. 2.5 mm max. 0.1 in. |
Verificaţi uzura bolţului cârligului sau
a găurii.
| Articolul | Dimensiunea măsurată | Specificaţie |
|
Bolţul cârligului şi gaura | Uzură | max. 1.5 mm max. 0.06 in. |

LX1048787-UN-09DEC09
Determinaţi jocul (f) dintre cârligul de remorcă
şi receptor.
| Articolul | Dimensiunea măsurată | Specificaţie |
|
Cârligul pentru remorcă şi receptorul
| Joc | max. 3.0 mm max. 0.12 in. |
|
|
OULXBER,0001964-58-20100830
|
|