Rear Wheel Tread Adjustment with Rack-and-Pinion Axle

L102691-UN-13APR00
NOTE: Adjustment of wheels is only possible when not more than
two weights are attached to each wheel.
-
Clean the axle with a wire brush.
-
Jack up tractor and turn rear wheel so that rack on axle faces
upward.
-
Loosen the attaching bolts completely.
-
Tighten the jack screws until the screw heads are flush against
the face of the wheel hub.
NOTE: If the sleeve does not break loose at once, also loosen
the three special screws on inboard side of wheel. If sleeve still
does not break loose, strike end of axle several times with a heavy
hammer. Evenly retighten jack screws. It helps to soak the sleeves
in penetrating oil.
-
Turn adjusting screw in or out until desired position is reached.
-
Back jack screws all the way out against stop, but do not use
force.
-
Lubricate threads and retighten attaching bolts alternately
to 400 Nm (300 lb-ft). Retighten bolts several times until all three
stay tightened to specified torque. When the attaching bolts are tightened
to specified torque, the jack screws should be free to turn. If this
is not the case, loosen jack screws and retighten attaching bolts
to specified torque.
-
After completing wheel tread adjustment, make sure that tires
and wheel ballast weights do not rub against the tractor. Then drive
tractor approx. 50 m (160 ft.), stop the tractor and retighten attaching
bolts to 400 Nm (300 lb-ft). The bolts must be retightened to torque
after 4 hours, after 8 hours and several times within the next 100
hours. See "Break-In Period".
IMPORTANT: The distance between the side wall of the tire and
the fender must not be less than 50 mm (1.97 in.). The distance
between the running surface (edge) of the tire and the fender must
not be less than 60 mm (2.36 in.).
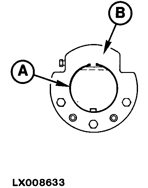
Turn wheel hub (pinion inside)

LX008633-UN-16AUG94

LX008634-UN-16AUG94
For loosening, adjusting and tightening wheel hub, see previous
page.
-
To facilitate assembly, remove rear wheel.
-
Remove snap ring (A). Turn adjusting screw so that wheel hub
(B) is at maximum width. Remove wheel hub (B).
-
Put wheel on axle at desired position. Turn wheel hub (B) around
and install it.
-
Install wheel and snap ring (A). For further assembly, see previous
page.
IMPORTANT: The distance between the side wall of the tire and
the fender must not be less than 50 mm (1.97 in.). The distance
between the running surface (edge) of the tire and the fender must
not be less than 60 mm (2.36 in.).
|
|
OU12401,000147B-19-20060621
|
|