Electrical Sockets (If Equipped)

LX1036245-UN-03JUN05
Signal socket in lateral console

LX1036634-UN-24AUG05
3-terminal socket in rear cab wall
A - Signal Socket
B - 3-Terminal Power Outlet Socket
Signal socket
|
Terminal
|
Wire color
|
Description
|
|
1
|
Red
|
Speed determined by radar
|
|
2
|
Brown
|
Wheel speed
|
|
3
|
Orange
|
Rear PTO speed
|
|
4
|
—
|
—
|
|
5
|
—
|
—
|
|
6
|
Blue
|
Power supply
|
|
7
|
Black
|
Ground
|
The 7-terminal signal socket (A) is protected by a 30-amp fuse.
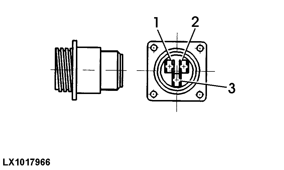
3-terminal power outlet socket

LX1017966-UN-12JAN98
Terminals 1 and 2 of 3-terminal power outlet socket (B) are
protected by a 30-amp fuse. Terminal 3 is ground.
Turn key in main (key) switch to the right to supply power to
terminal 1. Terminal 2 is supplied with power even when the ignition
is switched off.
IMPORTANT: Electrical equipment requiring high current inputs
may be operated, and the use of multiple power outlets is permitted,
but the supply circuit must never be overloaded. Remember, total load
comprises the sum of all the current consumers connected to the on-board
circuit at any one time. This also applies if the consumers are connected
to the on-board circuit at different sockets.
Routing the cables

LX1026097-UN-09MAR01
The rear window of the cab is provided with two openings, allowing
the cables to be routed. Open the window and take out the rubber stoppers.
Cut the rubber stoppers at the incisions provided to enable the cables
to be routed. Connect the connectors, insert the rubber stoppers and
close the window.
|
|
OU12401,0001B99-19-20100824
|
|