Vormontage des Pickup-Gewichtes
ACHTUNG: Bei den nachfolgend beschriebenen Arbeiten sind die
Sicherheitsmaßnahmen zu beachten.
ACHTUNG: Hebe- und Förderzeuge entsprechend dem Gewicht
von 900 kg (2000 lb) auswählen.
ACHTUNG: Nur geprüfte Hebezeuge verwenden.
ACHTUNG: Arbeitssicherheit beachten. Kein Aufenthalt unter schwebenden
Lasten.
HINWEIS: Um das Gewicht nach vollendeter Vormontage rangieren zu
können, ist es von Vorteil, wenn der Zusammenbau auf einer Palette
stattfindet. (Tragkraft beachten)

LX013997-UN-02APR96
Mittleres Gewicht (A) mittels Hebezeug auf ebenem Untergrund
abstellen.
Die seitlichen Gewichte (B) am mittleren Gewicht anordnen und
Aufnahmewelle (C) montieren.
Muttern (D) mit 300 N˙m (220 lb-ft) anziehen.
Die Bolzen (E) auf maximale Länge einstellen.

LX014001-UN-02APR96
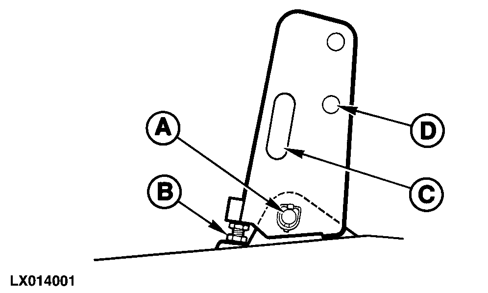
Den Oberlenkerhalter anordnen. Bolzen (A) einbauen und sichern.
Schraube (B) am Pickup-Gewicht anlegen und kontern.
Der Oberlenkerhalter bietet eine Vorrichtung (C) zur Aufbewahrung
von Distanzstücken bei Nichtgebrauch.
Bei Nichtgebrauch des Oberlenkerhalters wird dieser gekippt
und über die Bohrung (D) am Gewicht befestigt.
|
|
OU12401,0000C4D-29-20030102
|
|