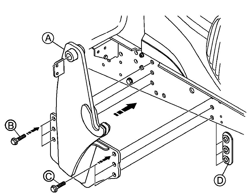
Frontladeranbau - Frontladerkonsolen

LX1054644-UN-19JAN12
|
Befestigungsteile für John Deere Frontladerkonsolen
|
|
Pos.
|
Benennung
|
Schlüsselweite
|
Drehmoment
|
Norm
|
Gewindebezeichnung
|
Länge
|
Kennzeichnung / Materialgüte
|
|
A
|
Gewicht der Frontladerkonsole 100 kg (220 lb)
|
-
|
-
|
-
|
-
|
-
|
-
|
|
B
|
3 Stück Sechskantschrauben mit Flansch
|
30 mm
|
500 N•m (370 lb.-ft.)
|
JDS123
|
M20 x 2,5
|
45 mm (1.8 in.)
|
10.9
|
|
C
|
3 Stück Sechskantschrauben mit Flansch
|
30 mm
|
550 N•m (406 lb.-ft.)
|
JDS123
|
M20 x 2,5
|
45 mm (1.8 in.)
|
10.9
|
|
D
|
3 Stück Muttern mit Flansch
|
30 mm
|
-
|
ISO4161
|
M20 x 2,5
|
-
|
10
|
Frontladerkonsolen mittels Hebezeug am Hauptrahmen des Traktors
anordnen und Schrauben mit vorgeschriebenem Drehmoment festziehen.
Drehmoment regelmäßig kontrollieren, siehe Abschnitt 85,
Schmierdienst und periodische Wartung.
Von John Deere wird ein geprüfter Frontlader freigegeben
und zum Verkauf angeboten. Bei Anbau der John Deere Frontladerkonsolen
dürfen nur geeignete Befestigungselemente verwendet werden, wie
in obiger Abbildung gezeigt. Zusätzlich Betriebs- und Anbauanleitung
des Frontladers beachten.
|
|
OULXBER,0001BBF-29-20120119
|
|